Installing Hydraulic Twine Arm Cylinder

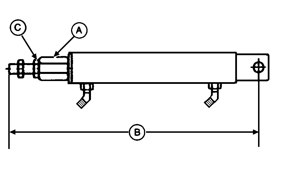
1. Retract cylinder until hex block (A) contacts cylinder barrel. Distance (B) from center of hole in base end of cylinder to end of cylinder rod should be within specifications.

Specification

Center of Hole in Base End-to-End of Cylinder Rod -Distance 404 mm (15-29/32 in.)

2. Turn hex block (A) on cylinder rod to obtain specifications. Hex block (A) must be contacting cylinder barrel. Tighten jam nut (C).

E41787


A-Hex Block
B-Dimension
C-Jam Nut

OUO6077,000196F -19-06JAN05-1/3


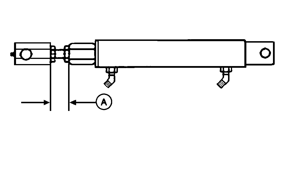
NOTE: If cylinder was removed with end block, see HYDRAULIC TWINE ARM CYLINDER INITIAL LENGTH in this section for proper installation procedure.

3. Install cylinder on baler by turning cylinder rod into end block until dimension (A) is obtained between end block and hex block to specifications.

Specification

End Block-to-Hex Block -Distance 28 mm (1-3/32 in.)

The initial cylinder settings should be close to the desired setting for right-hand end wrap placement and twine cutter tension.

E41786


A-Dimension

OUO6077,000196F -19-06JAN05-2/3


4. Install base end of cylinder and fasten with cap screw and lock nut (A). Do not overtighten, cylinder must be free to pivot.

5. Connect hydraulic hoses (B).

6. Start tractor engine and operate twine arm through several complete cycles, using tractor hydraulics, to bleed air from cylinder.

7. Adjust position of twine arm to right sidesheet. (See ADJUSTING TWINE ARM DISTANCE FROM RIGHT SIDESHEET in this section.)

8. Adjust twine cutter tension. (See ADJUSTING TWINE CUTTER TENSION in this section.)

E54028


A-Cap Screw and Lock Nut
B-Hydraulic Hoses

OUO6077,000196F -19-06JAN05-3/3