Install Left-Hand Upper Drive Roll Bearing

IMPORTANT: To prevent bearing failure, always loosen the three RIGHT SIDE flange mounting bolts before tightening left side (drive side) center bolt. Adjust and tighten right side mounting bolts per this instruction AFTER left side is tightened.

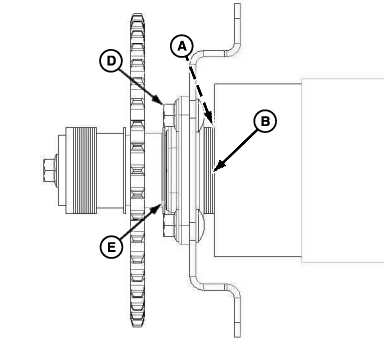
1. Install spacer (A) with chamfer pointing towards center of baler. Ensure there are enough washers (B) behind bearing to center drive roll in baler. Washers must completely fill gap between roll and bearing.

2. Locate housing with "UP" (C) towards top of baler.

3. Tighten flange nuts (D) to specification.

Specification

Flange Nut and Bolt -Torque 40 N·m  (29.5 lb-ft)

4. Install washers (E) between sprocket and bearing to obtain correct chain alignment.

NOTE: For upper drive roll, perform next step. For lower drive roll, see Install Lower Drive roll Bearing only (Preferred Method) .

E54501
E54502


A-Spacer With Chamfer
B-Washers
C-"UP" Stamped Into Casting
D-Flange Bolt (4 used)
E-Washers

OUO6085,0000642 -19-29SEP06-1/2


5. Install washers (A) between sprocket and end of shaft so washers are flush with end of shaft. Add a thick, large ID washer (B), over the shaft. (washer will extend 1 to 6 mm past end of shaft.) Install center bolt (C) with end washer. Tighten bolt to specification.

Specification

Bolt -Torque 140 N·m (103 lb-ft)

6. Tighten right-hand mounting bolts as described in Steps 7 and 8 of "Install Right-Hand Drive Roll Bearing" in Service section.

E54868

Upper Drive Roll


A-Washers
B-Thick Large Washer (Over Shaft)
C-Bolt and End Washer

OUO6085,0000642 -19-29SEP06-2/2