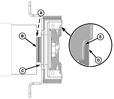
Install Right-Hand Drive Roll Bearing

1. Install spacer (A) with chamfer pointing towards center of baler.

2. Make sure there are enough washers (B) between end of roll tube and bearing to locate bearing cast housing correctly.

3. Hold bearing (C) tight against washers. Edge of mounting strap (D) must align within the step of cast housing (E) in three locations.


A-Spacer
B-Washers
C-Bearing
D-Mounting Strap
E-Cast Housing

E54508

OUO6085,0000644 -19-29SEP06-1/3


4. Add or subtract washers behind bearing, if required, to locate cast step (A) correctly with mounting edge (B) in all three locations. Set mounting edge to specification.

Specification

Cast Step -Distance 1.5-4.5 mm (0.059-0.177 in.)


A-Cast Step
B-Mounting Strap Edge
C-Dimension, 1.5-4.5 mm (0.059-0.177 in.)

E54509

OUO6085,0000644 -19-29SEP06-2/3


5. Install flange mounting bolts (A) and (B). Only tighten bolts enough to get a light contact between cast flange and mounting strap. Some rotation (a light tap) of the cast flange around the outer race may be required to align flange correctly at all three locations. Do not tighten bolts at this time.

6. Install washers (C) between bearing and end of hex shaft so washers are flush with end of shaft. Add large thick ID washer (D) (washer will extend 1 to 6 mm past end of shaft), and install center bolt and end washer (E). Tighten bolt to specification.

Specification

Center bolt -Torque 140 N·m (103 lb-ft)

7. Tighten middle flange mounting cap screw (B) first. Tighten remaining two flange mounting cap screws (A). Tighten all three cap screws to specification.

Specification

Cap Screw (3 used) -Torque 40 N·m  (29.5 lb-ft

8. Check position of mounting edge to cast step in three locations. If mounting edge does not align in the cast step, repeat Steps 5 through 7.


A-Flange Mounting Bolts and Nuts
B-Flange Mounting Bolt and Nut
C-Washers
D-Large, Thick Washer
E-Center Bolt and Washer

E54510
E54503
E54585

OUO6085,0000644 -19-29SEP06-3/3