Adjusting Bale Measuring Control

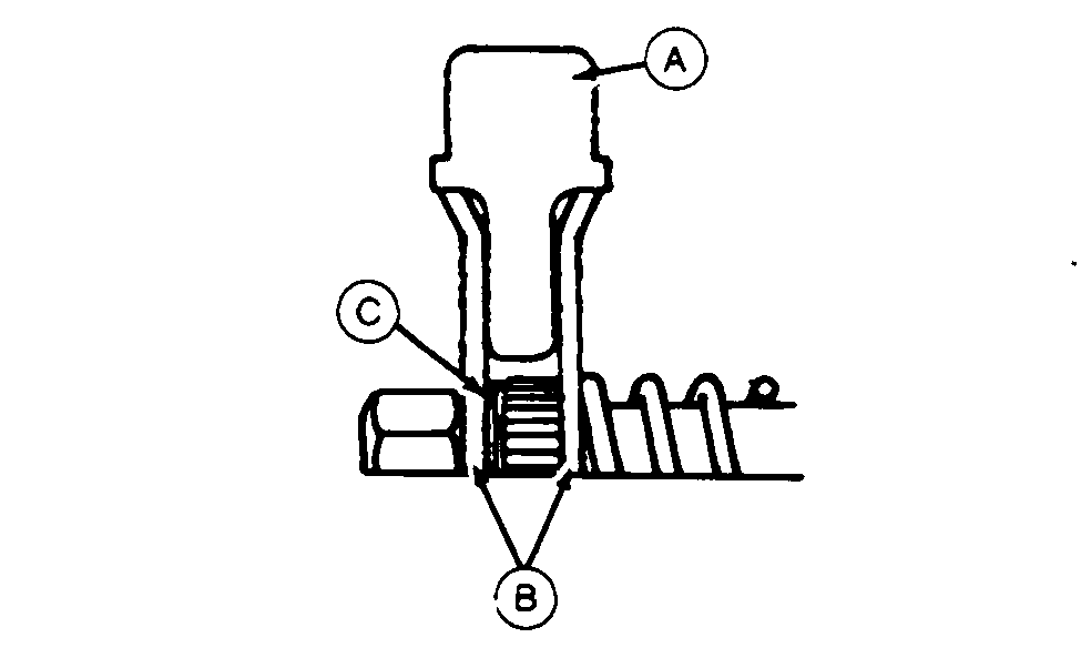
1. Locate needles in home position as shown with measuring arm stop (A) resting on measuring wheel shaft sheave (B).

2. Slightly loosen four measuring wheel mounting cap screws (C).


A-Measuring Arm Stop
B-Measuring Wheel Shaft Sheave
C-Mounting Cap Screws

E28953

OUO6038,0000089 -19-01NOV06-1/5


IMPORTANT: Same amount of adjustment must be made on BOTH sides of measuring wheel mounting to prevent binding.

3. Move measuring wheel mounting forward or rearward slightly until top corner of trip arm (A) is flush with top corner of flat surface of trip dog (B).

4. Tighten measuring wheel mounting cap screws securely.


A-Trip Arm
B-Trip Dog

E19300

OUO6038,0000089 -19-01NOV06-2/5


causym CAUTION: Arm (A) is spring loaded, use extreme caution.

5. Rotate flywheel until needle lift shaft arm (A) is on high point of cam and arm (B) drops. Minimum clearance (D) between arm (B) and roller (C) must be within specification.

Specification

Trip Arm-to-Roller -Clearance (Minimum) 1.5 mm (0.06 in.)

      E36800


      A-Needle Lift Shaft Arm
      B-Arm
      C-Roller
      D-Clearance

    OUO6038,0000089 -19-01NOV06-3/5


      IMPORTANT: Sheave with larger diameter hole must be next to spring and over spacer.

    • If stop (A) bounces while falling into place between sheave sides (B), the area is too wide. Remove shims (C) as required.
    • If stop does not fall all the way in between sheaves, the area is too narrow. Add shims (D) as needed.


      A-Stop
      B-Sheave Sides
      C-Shims
      D-Shims

      E33687

    OUO6038,0000089 -19-01NOV06-4/5


      • If blade of stop (A) drops between sheave sides (B) snugly without bouncing, shims (C) are properly adjusted.


      A-Stop
      B-Sheave Sides
      C-Shims

      E18796

    OUO6038,0000089 -19-01NOV06-5/5