Adjusting Twine Disk

NOTE: Sisal twine billhook is primarily for use with heavier grades and qualities of sisal twine.

The following adjustments are to be made after tying two knots (this ensures having two twines in each disk.) This adjustment is NOT for type of twine, but for type of billhook.

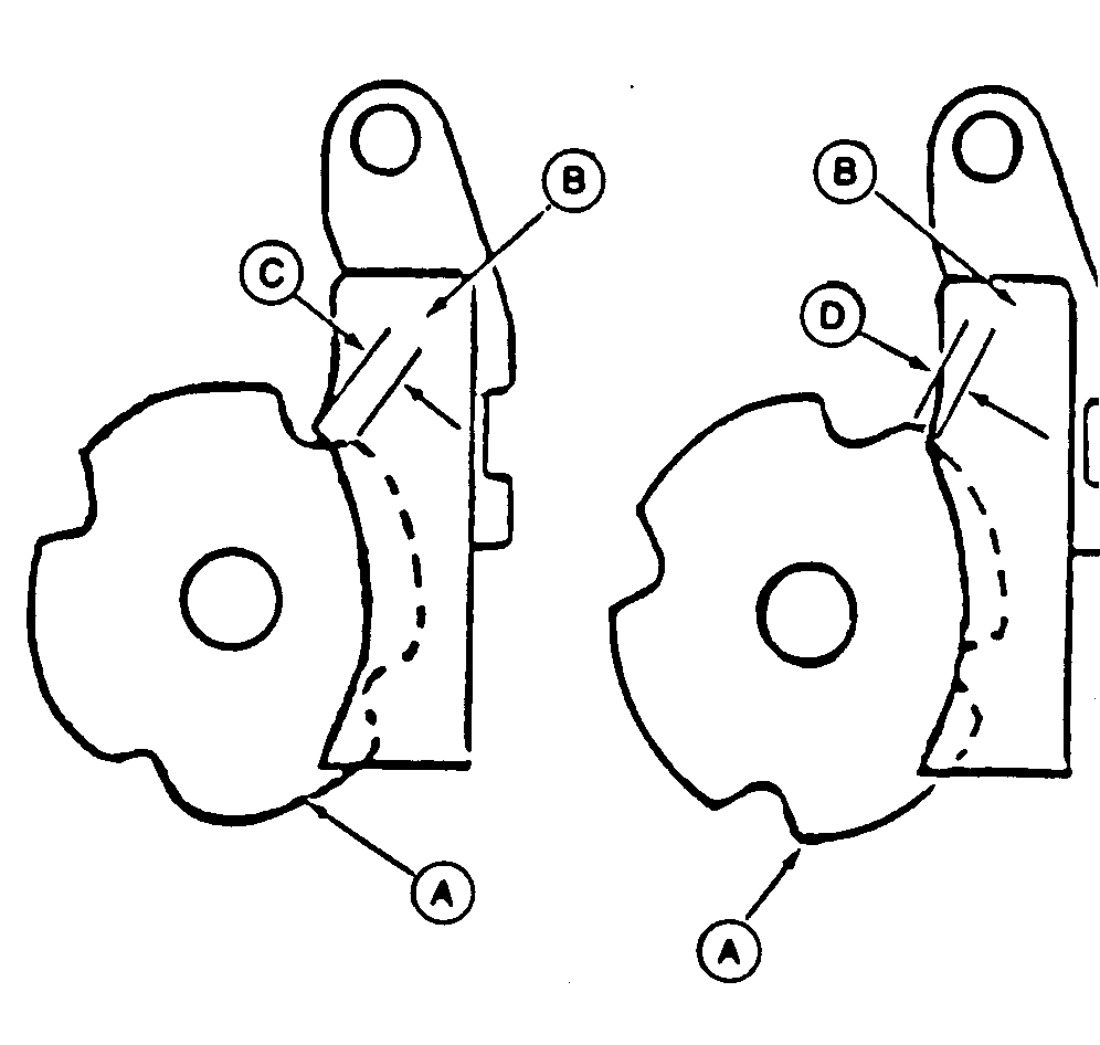
Twine disk adjustment is determined by position of notches in twine disk (A) in relation to twine holder (B). Make adjustment as follows:

  • If knotter has a sisal twine billhook, right-hand corner of notch in CENTER plate of twine disk clearance (C) should be to right of twine holder per specification.

Specification

Sisal Twine Billhook Disk -Clearance (C) 0-1.6 mm (0-1/16 in.)
  • If knotter has a multi-twine billhook, right-hand corner of notch in CENTER plate of twine disk clearance (D) should be to left of twine holder per specification.

Specification

Multi-Twine Billhook Disk -Clearance (D) 0.8-2.4 mm (1/32-3/32 in.)

    NOTE: Dimensions are based on using normal sisal twine (2475 m [9000 ft] per bale). Using heavier or lighter twine than normal will affect these dimensions.

E36795

Sisal Billhook and Multi-Twine Billhook


A-Twine Disk
B-Twine Holder
C-Clearance
D-Clearance

OUO6038,0000094 -19-28SEP00-1/2


1. Loosen nut (A). Do not remove nut. Tap nut end of shaft to break tapered joint loose.

2. Rotate twine disk (B) to desired location.

3. Tap pinion end of shaft.

4. Rotate worm gear counterclockwise until seated. Tighten nut to specification.

Specification

Nut -Torque 34 N·m (25 lb-ft)

NOTE: End play must be 0.12-0.38 mm (0.005-0.015 in.).

E29038


A-Nut
B-Twine Disk

OUO6038,0000094 -19-28SEP00-2/2