Adjusting Plungerhead

IMPORTANT: Incorrect adjustment of plungerhead and/or stationary knife can cause knives to lock or shear bolts to break.

Before adjusting plungerhead, make sure stationary knife is adjusted to specification. (See ADJUSTING STATIONARY KNIFE in this section.)

To prevent binding of plungerhead, make sure scrapers are loosened before adjusting plungerhead.

1. Rotate flywheel to move plungerhead to front of baler. Inspect lower right bale case side guide (A) and bottom right bale case guide (B) for wear. Replace if worn.

2. Shim lower right bale case side guide (A) until the wear surface is straight within 0.76 mm (0.030 in.) along entire length of guide.

E38474


A-Lower Right-Hand Bale Case Side Guide
B-Bottom Right-Hand Bale Case Side Guide

OUO6038,00000A0 -19-16NOV06-1/18


3. Loosen rear scrapers (A and B). Loosen cap screws (C) to loosen front scraper.


A-Left Rear Scraper
B-Right Rear Scraper
C-Cap Screws

E48981

Rear Scrapers

E48982

Front Scraper

OUO6038,00000A0 -19-16NOV06-2/18


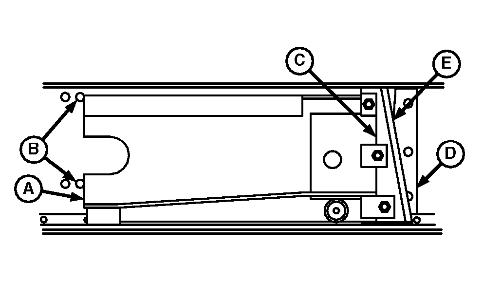
4. Rotate flywheel until front edge (A) of plungerhead is aligned with front edge of round-head bolt head (B). Scissor point (E) of plungerhead knife (C) and stationary knife (D) will be at "bottom position" as illustrated.

5. Push and hold plungerhead to right side of bale case against the lower right side bale case guide plate (F).

6. Check clearance (G) between plungerhead knife and stationary knife. Clearance must be within specification.

Specification

Plungerhead Knife-to-Stationary Knife -Clearance 0.75-1.5 mm (0.030-0.060 in.)

  • If clearance not within specification, check if stationary knife is adjusted to specification. (See ADJUSTING STATIONARY KNIFE in this section.)
  • If stationary knife clearance is within specification, but clearance (G) is less than 0.75 mm (0.030 in.), plungerhead knife may be worn at point were knife contacts lower right side bale case guide plate. Repair or replace plungerhead knife as necessary.


A-Front Edge of Plungerhead
B-Front Round-Head Bolt (Located at Front Right Side of Bale Case)
C-Plungerhead Knife
D-Stationary Knife
E-Scissor Point (Bottom Position)
F-Lower Right Side Guide Plate
G-Clearance

E38743

Bottom Scissor Position of Knives

E38751

OUO6038,00000A0 -19-16NOV06-3/18


7. Rotate flywheel until front edge (A) of plungerhead is aligned with rear edge of round-head bolt head (B). Scissor point (E) of plungerhead knife (C) and stationary knife (D) will be at "top position" as shown in drawing.

NOTE: Scissor point of knives is shown lower in the photo for illustration purposes only.

8. Check clearance (F) between plungerhead knife and stationary knife. Clearance must be within specifications.

Specification

Plungerhead-to-Stationary Knife -Clearance 1.0-3.28 mm (0.040-0.130 in.)


A-Front Edge of Plungerhead
B-Rear Round-Head Bolt (Located at Front Right Side of Bale Case)
C-Plungerhead Knife
D-Stationary Knife
E-Scissor Point (Top Position)
F-Clearance

E38744

Top Scissor Position of Knives

E38752

OUO6038,00000A0 -19-16NOV06-4/18


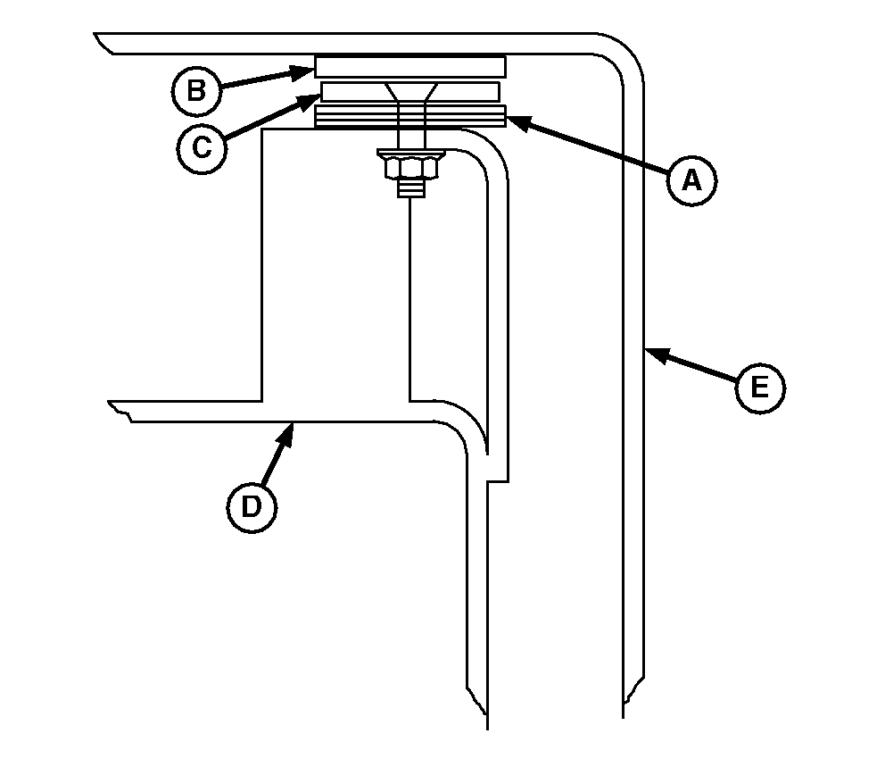
9. If knife clearance at top scissor position is not within specification, rotate flywheel until left rear plungerhead roller aligns with access hole in left side of bale case.

10. Loosen locking nut (A):

  • To decrease knife clearance, loosen top nut (C) and tighten bottom nut (D).
  • To increase knife clearance, loosen bottom nut (D) and tighten top nut (C).

11. Recheck knife clearance at top scissor position. If clearance is within specification, tighten all roller nuts.

12. Rotate flywheel until plungerhead is at rearmost position.

13. Push and hold plungerhead to the left against the left bale case angle guide.

E18461
E18456


A-Roller Locking Nut
B-Access Hole in Bale Case
C-Upper Adjusting Nut
D-Lower Adjusting Nut

OUO6038,00000A0 -19-16NOV06-5/18


14. Check for clearance (C) between plungerhead knife (A) and lower right side guide plate (B). Clearance must be within specification. If not within specification, adjust left angle guide.

Specification

Plungerhead Knife-to-Lower Right Side Guide Plate -Clearance 0.13-0.38 mm (0.005-0.015 in.)


A-Knife
B-Plate
C-Clearance

E19469

OUO6038,00000A0 -19-16NOV06-6/18


IMPORTANT: Incorrect adjustment can cause knives to lock or shear bolts to break.

Do not use anchor bolts and nuts (B) to move lower left angle guide (C). Anchor bolts and guide can bind and become distorted. Only use the anchor bolts and nuts to hold clearance after guide adjustment has been made.

NOTE: A total of six plow bolts are used to fasten the lower left angle guide (C). Three of the plow bolts and nuts (A) are used with anchor bolts. The other three plow bolts, washers, and nuts (A) fasten directly to the bale case and machine frame.

15. To adjust left angle guide, loosen six nuts (A) and six anchor nuts (B).

16. Pry plungerhead to extreme right side of bale case.

17. Move lower left angle guide (C) towards right until guide contacts plungerhead side roller (D).

18. Snug rearmost anchor nuts (B) and rearmost plow bolt nut (A). Do not tighten the other anchor nuts and plow bolts at this time.


A-Plow Bolts and Nuts (6 each used)
B-Anchor Bolt Nuts (6 used)
C-Bale Case Left Angle Guide
D-Plungerhead Side Roller

E36428AE
E24762

OUO6038,00000A0 -19-16NOV06-7/18


IMPORTANT: To prevent plungerhead knocking, this adjustment should be as tight as possible without binding.

19. With plungerhead in the rearmost position, check for clearance (B) between lower right plungerhead wear pad (A) and angle guide (D). Clearance must be within specification and plungerhead must not bind.

Specification

Plungerhead Wear Pad-to-Angle Guide -Clearance 0.0-1.27 mm (0.0-0.050 in.)

20. To adjust clearance, loosen five round-head bolts (C) and move angle guide until proper clearance is achieved.

21. Snug rearmost round-head bolt (C). Do not tighten the other angle guide round-head bolts at this time.

22. Move plungerhead to the forward position of the stoke and check for clearance (B) again. Adjust front angle guide (D) as necessary, then tighten all round-head bolts (C). Plungerhead must move freely without binding for entire stroke.

E38642


A-Lower Right Plungerhead Wear Pad
B-Clearance
C-Round-Head Bolt (5 used)
D-Front Bale Case Angle Guide

OUO6038,00000A0 -19-16NOV06-8/18


23. With plungerhead in forward position of the stroke, push plungerhead to the left against left bale case angle guide. Clearance between plungerhead knife (A) and right side guide plate (B) must not exceed specification.

Specification

Plungerhead Knife-to-Right Side Guide Plate -Clearance 1.52 mm (0.060 in.)


A-Knife
B-Plate

E19470

OUO6038,00000A0 -19-16NOV06-9/18


24. Push left angle guide (C) tight against plungerhead side roller. Tighten all anchor bolt nuts (B), then check clearance between plungerhead knife and right side guide plate again.

25. If clearance within specification and plungerhead does not bind, tighten all plow bolt nuts (A).


A-Nuts
B-Nuts
C-Guide

E36428AE

OUO6038,00000A0 -19-16NOV06-10/18


IMPORTANT: Make sure knife clearance and plungerhead side movement is within specification before adjusting the plungerhead wear plates and bale case guide extension plates.

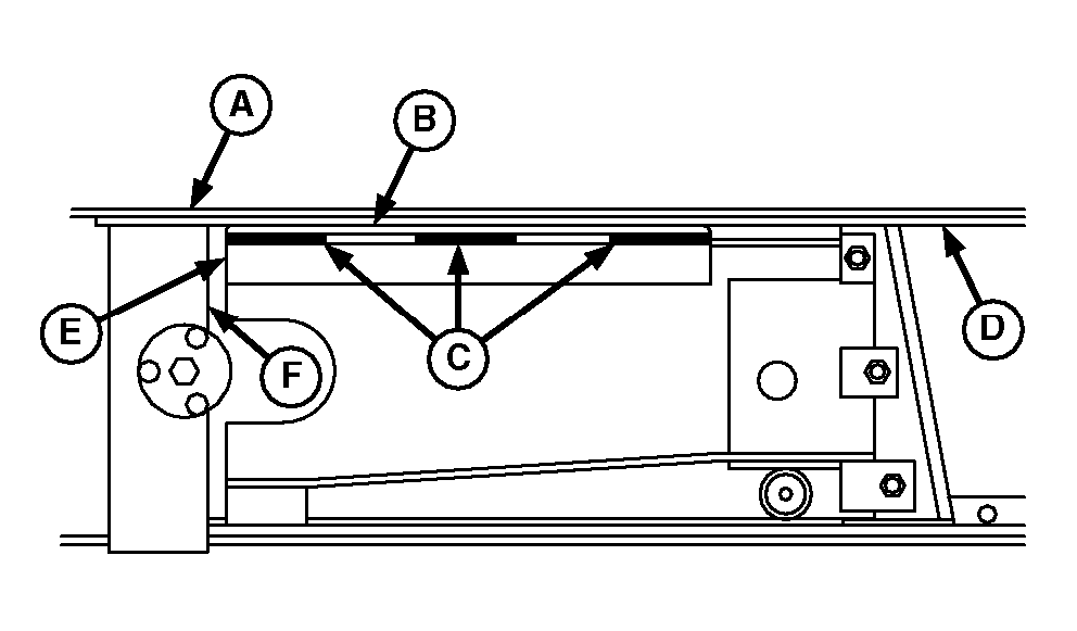
26. Move plungerhead forward until front edge of plungerhead (E) aligns approximately with rear edge of bracket (F).

IMPORTANT: The upper right plungerhead wear plate clearance must not exceed specification or plungerhead knock may occur.

Make sure plungerhead does not bind as plungerhead is moved through complete cycle. A plungerhead that binds may cause shear bolts to break.

NOTE: It is recommended that the upper right plungerhead wear plate clearance be initially set at approximately 0.8 mm (0.030 in.). The clearance may be set tighter, but keep in mind that the tighter the clearance, the more chance the plungerhead may bind at some point in plungerhead stroke.

27. Check clearance between upper right plungerhead wear plate (B) and upper right bale case guide plate (D). Measurement should be taken in the location of each of the three shim packs (C). Clearance at each location should be within specification.

Specification

Wear Plate-to-Guide Plate -Clearance 0.0-1.02 mm (0.0-0.040 in.)

E38759
E38762


A-Bale Case
B-Upper Right Plungerhead Wear Plate
C-Shim Pack Locations
D-Upper Right Bale Case Guide Plate
E-Front Edge of Plungerhead
F-Pickup Drive Arm Bracket

OUO6038,00000A0 -19-16NOV06-11/18


IMPORTANT: It is not necessary to have the same amount of shims in the three shim pack locations (A), but there MUST NOT be more shims in the center shim pack than at the end shim packs.

NOTE: Shim packs (A) insert between the plungerhead frame and plungerhead upper right wear plate (B).

28. If clearance not within specification, loosen plungerhead upper right wear plate (B) plow bolts. Add or remove shims as necessary at shim pack locations (A), then tighten plow bolts. Keep the same clearance throughout entire length of plungerhead upper right wear plate.

E48983


A-Shim Pack Locations
B-Upper Right Plungerhead Wear Plate

OUO6038,00000A0 -19-16NOV06-12/18


IMPORTANT: Incorrect adjustment of plungerhead wear plates may cause plungerhead knock (too much clearance) or may cause plungerhead to bind in bale case (too little clearance) causing shear bolts to break.

When plungerhead is in the forward position, clearance between plungerhead upper left wear plate and bale case upper left guide plate should not exceed 1.5 mm (0.060 in.) at the closest point between wear plate and guide plate.

NOTE: It is recommended that the plungerhead upper left wear plate clearance be initially set at approximately 0.8 mm (0.030 in.). The clearance may be set tighter, but keep in mind that the tighter the clearance, the more chance the plungerhead may bind at some point in plungerhead stroke.

Measurement must be taken at the closest point between wear plate and guide plate.

29. With plungerhead at the forward position as described in Step 26, check clearance between plungerhead upper left wear plate (C) and bale case upper left guide plate (B) using a feeler gauge (F). Clearance must be within specification and plungerhead must not bind.

Specification

Wear Plate-to-Guide Plate -Clearance 0.0-1.5 mm (0.0-0.060 in.)

30. Loosen the two plungerhead wear plate nuts to add or remove slotted shims (A) as necessary.

E38755
E38764


A-Slotted Shims 0.61, 0.91, or 1.52 mm (0.024, 0.036, or 0.060 in.)
B-Bale Case Upper Left Guide Plate
C-Plungerhead Upper Left Wear Plate
D-Plungerhead Frame
E-Bale Case
F-Feeler Gauge

OUO6038,00000A0 -19-16NOV06-13/18


IMPORTANT: Incorrect adjustment of plungerhead wear plates may cause plungerhead knock (too much clearance) or may cause plungerhead to bind in bale case (too little clearance) causing shear bolts to break.

When plungerhead is at the "top scissor position", clearance between plungerhead upper left wear plate and bale case upper left guide plate should not exceed 1.5 mm (0.030 in.) at the closest point between wear plate and guide plate

31. Move plungerhead rearward until knives are at the "top scissor position" as described in Step 7. Check clearance between plungerhead upper left wear plate (C) and bale case upper left guide plate (B) using a feeler gauge (F). Clearance must be within specification and plungerhead must not bind.

Specification

Wear Plate-to-Guide Plate -Clearance 0.0-0.8 mm (0.0-0.030 in.)

32. If clearance exceeds specification or plungerhead binds, repeat Steps 29-31 until clearance for plungerhead upper left wear plate is within specification when plungerhead is at both the "top scissor position" and "forward position". Plungerhead must not bind at any time.

E38755
E38765


A-Slotted Shims 0.61, 0.91, or 1.52 mm (0.024, 0.036, or 0.060 in.)
B-Bale Case Upper Left Guide Plate
C-Plungerhead Upper Left Wear Plate
D-Plungerhead Frame
E-Bale Case
F-Feeler Gauge

OUO6038,00000A0 -19-16NOV06-14/18


E38760


A-Upper Right Guide Plate
B-Bale Case
C-Slotted Shim (as required)


D-Upper Right Guide Extension Plate
E-Slotted Shim (as required)


F-Upper Right Guide Extension Plate


G-Plungerhead Upper Right Wear Plate

IMPORTANT: Incorrect adjustment of bale case upper right guide extension plates (D and F) may cause plungerhead knock (too much clearance) or may cause plungerhead to bind in bale case (too little clearance) causing shear bolts to break.

When plungerhead is at the "top scissor position", clearance between plungerhead upper right wear plate and bale case upper right guide extension plates should not exceed 1.5 mm (0.030 in.).

33. With plungerhead at the "top scissor position", check clearance between plungerhead upper right wear plate (G) and bale case upper right guide extension plates (D and F). Clearance must be within specification at the closest point between wear plate and guide plates without plungerhead binding.

Specification

Upper Right Wear Plate-to-Upper Right Guide Extension Plates -Clearance 0.0-0.8 mm (0.0-0.030 in.)

OUO6038,00000A0 -19-16NOV06-15/18


34. Loosen nuts (D) to add or remove slotted shims (B).

35. Loosen nuts (C) to add or remove slotted shims (A).


A-Slotted Shim (as required)
B-Slotted Shim (as required)
C-Nuts (2 used)
D-Nuts (2 used)

E48984
E48985

OUO6038,00000A0 -19-16NOV06-16/18


IMPORTANT: Scrapers must not lift plungerhead rollers off bale case guide plates.

36. Adjust left rear scraper (B):

  • Scraper-to-bale case lower left guide clearance (C) should be within specification.

Specification

Scraper-to-Bale Case Lower Left Guide -Clearance (C) 0.0-0.25 mm (0.0-0.040 in.)

    NOTE: It is recommended the scraper clearance be adjusted closer to lower specification.

  • Scraper-to-left bale case clearance (A) should be within specification throughout entire stroke of plungerhead.

Specification

Scraper-to-Left Bale Case -Clearance (A) 1.52-4.57 mm (0.060-0.180 in.)

37. Adjust right rear scraper (D). Scraper-to-bale case lower right guide plate clearance (E) should be within specification.

Specification

Scraper-to-Bale Case Lower Right Guide Plate -Clearance (E) 0.0-0.25 mm (0.0-0.040 in.)

E38742


A-Left Rear Scraper-to-Left Bale Case Clearance
B-Left Rear Scraper
C-Left Rear Scraper-to-Bale Case Lower Left Guide Clearance
D-Right Rear Scraper
E-Right Rear Scraper-to-Bale Case Right Guide Plate Clearance

OUO6038,00000A0 -19-16NOV06-17/18


38. Move plungerhead until front scraper cap screws (C) are visible in left bale case access hole. Check scraper-to-bale case left angle guide clearance. Clearance should be within specification.

Specification

Scraper-to-Bale Case Left Angle Guide -Clearance 0.0-0.25 mm (0.0-0.040 in.)

39. After plungerhead adjustments are complete, move plungerhead by hand through one complete cycle. Plungerhead must move easily without binding throughout the complete plungerhead cycle.

40. If plungerhead binds, identify the problem, then make the necessary adjustment(s).

IMPORTANT: Keep in mind that adjusting one area may affect another.

E18466


A-Front Scraper
B-Bale Case Left Angle Guide
C-Cap Screw (2 used)

OUO6038,00000A0 -19-16NOV06-18/18