Adjusting Stationary Knife

IMPORTANT: Incorrect adjustment can cause knives to lock or shear bolts to break.

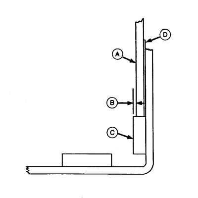
To prevent knives from locking, stationary knife must be recessed 0.5 mm (0.020 in.) below wear surface of right side guide plate.

Adjusting stationary knife will affect plungerhead knife-to-stationary knife clearances and plungerhead side movement clearance.

1. Check stationary knife (A) for clearance. Stationary knife must be recessed (B) below wear surface of right side guide plate (C) per specification. Add or remove stationary knife shims (D) as necessary.

Specification

Stationary Knife Recess -Distance (B) 0.5 mm (0.020 in.)

IMPORTANT: Stationary knife bolts must be seated by the repeated blows of a hammer while nuts are being tightened.

2. Tighten stationary knife bolts by striking the stationary knife (bale case side) with a hammer while tightening the knife nuts to specification.

Specification

Knife Nuts -Torque 55-108 N·m (50-80 lb-ft)

E38475
E38476


A-Stationary Knife
B-Distance
C-Right Side Guide Plate
D-Stationary Knife Shims

OUO6038,00000A1 -19-28SEP00-1/1