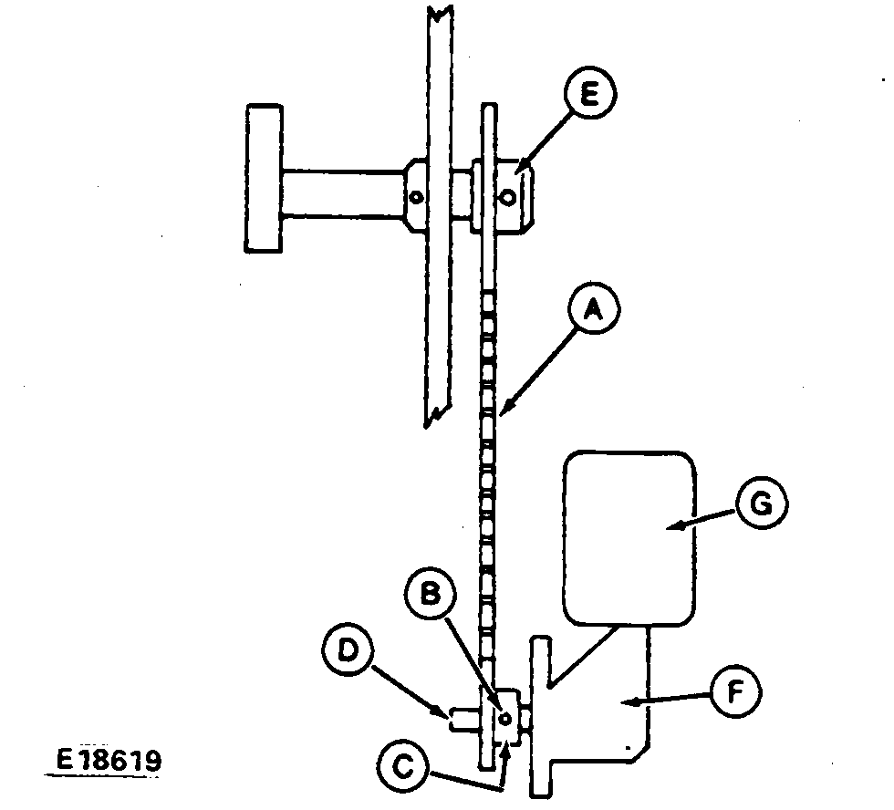
Adjusting Hydraulic Bale Tension Pump Chain (If Equipped)

1. To adjust roller chain (A), loosen set screw (B), slide sprocket (C) on drive gear shaft (D) until it is vertically in line with sprocket drive (E).

2. If installing chain, position chain clip (H) on master link (I) so the split end of the clip trails in the direction of travel (arrowed).

3. Adjust chain by loosening mounting bolts and moving pump until chain is tight but can still be deflected by thumb pressure. Tighten pump mounting bolts.

Check chain tension by turning flywheel until feeder crank moves approximately 90 degrees. Check pump chain tension. If chain is tight at this position, loosen pump (F) and adjust chain until it is tight but can be deflected by thumb pressure. Turn flywheel until feeder crank moves another 90 degrees and check chain tension. Adjust chain tension if needed.


A-Roller Chain
B-Set Screw
C-Sprocket
D-Drive Gear Shaft
E-Drive Sprocket
F-Pump
G-Reservoir
H-Chain Clip
I-Master Link

E18619
E22702

OUO6038,00000CB -19-04OCT00-1/1