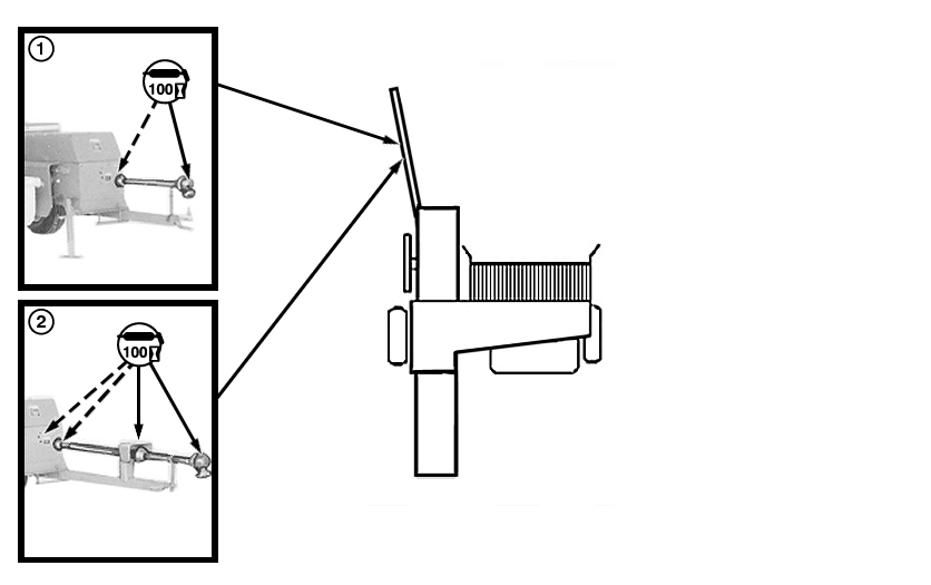
Every 100 Hours

E35988
 

1-328 Baler (with 2-Joint Driveline)

2-328 or 338 Baler (with 3-Joint Driveline)

 

OUO6038,00000CC -19-06OCT00-1/1