Threading Left Hand Needle (338)

causym CAUTION: Disengage PTO and shut off tractor engine before threading needles.

IMPORTANT: Do not cross twine during threading operation.

NOTE: A detailed threading diagram is located underneath twine box lid. Improperly threaded twine will cause tying problems.

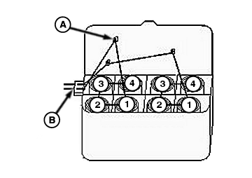
1. Thread twine from ball number one through upper guide (A) and through REAR of tension plate (B).

2. Connect twine from ball number one, to ball number two, then to number three, and number four.

E54883


A-Guide
B-Tension Plate (Rear)

OUO6085,0000661 -19-27OCT06-1/3


3. Thread through eye (A) on needle frame.

4. Throw twine (B) under bale case.


A-Eye
B-Twine

E18053
E18058

OUO6085,0000661 -19-27OCT06-2/3


5. Thread twine through eye (A) and over guide on end of needle (B).

6. Secure twine (C) to measuring wheel.

7. Trip measuring wheel arm and turn flywheel counterclockwise by hand.

8. Continue turning flywheel until needles are all the way up, twine is held in twine disk, and needles have returned to "home" position.

9. Remove twine temporarily secured to measuring wheel. Left-hand twine is now ready for baling operation.


A-Eye
B-Needle
C-Twine

E18059
E19284

OUO6085,0000661 -19-27OCT06-3/3