Replacing Flywheel Shear Bolt

IMPORTANT: Needles must be in "home" position. (See PLACING NEEDLES IN HOME POSITION in Service section.)

If breakage occurs, see your John Deere dealer for correct replacement. Do not use a substitute bolt of higher strength or machine damage can occur.

1. Determine cause of shearing and correct:

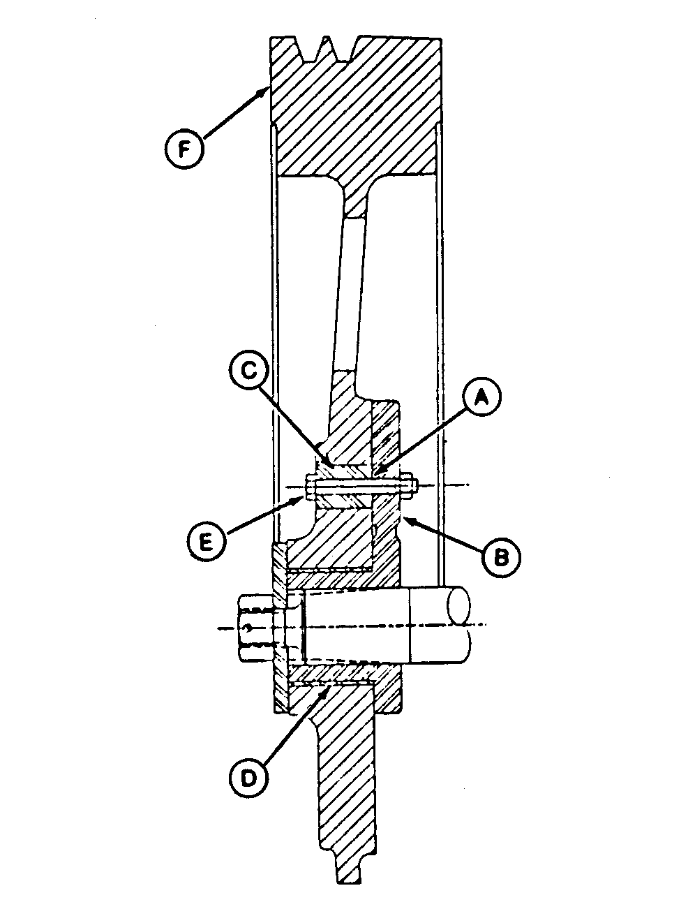
  • Shear plane (A) may be separated.
  • Shear bolt hub (B) or shear bolt sleeve (C) may be damaged around shear bolt hole (hole edges must be sharp).
  • Bushing (D) may be worn.
  • Obstruction in bale chamber.
  • Needles in bale chamber.
  • Needles or feeder out of time.

IMPORTANT: Remove gap from shear plane by moving flywheel (F) to the right before installing shear bolt. Removing gap by tightening shear bolt will tip flywheel causing premature shear bolt failure.

2. Install new special shear bolt (E). Do not replace with standard bolt. Tighten shear bolt to specification.

Specification

Shear Bolt -Torque 11 N·m (97 lb-in.)

3. If needles are in bale case when bolt shears, return needles to "home" position by hand before starting baler.

IMPORTANT: Lubricate at fitting when replacing shear bolt.

E36799
E33785


A-Shear Plane
B-Shear Bolt Hub
C-Shear Bolt Sleeve
D-Bushing
E-Shear Bolt
F-Flywheel

OUO6078,0005298 -19-08JUN06-1/1