Barra de segado

NOTA: El sistema hidráulico limitará el movimiento del molinete.

Si se detiene el molinete con el brazo (A) de la barra de púas junto a la etiqueta (B) de la leva, el molinete queda en una posición que permite darle servicio a la barra de segado.

Si se desea producir una hilera uniforme, no puede haber ninguna detención de la cosecha en la barra de segado. El afilado de la cuchilla y la hoja fija y el ajuste entre la cuchilla y el protector ayudan a lograr un corte bien definido.

NOTA: Inspeccionar las cuchillas y hojas fijas antes de iniciar el trabajo todos los días.

Las cuchillas y hojas fijas romas no cortan todos los tallos uniformemente causando una entremezcla de tallos cortados y sin cortar. Esta entremezcla estorba el flujo de los tallos cortados por el molinete dejando un rastrojo duro y una hilera despareja. La acción de corte deficiente también requiere reducir la velocidad de avance.

La barra de segado puede equiparse ya sea con protectores regulares o inatascables. Los protectores sin una barra de desgaste deben colocarse en el cabezal de la cuchilla en cada extremo de la barra de segado. (Ver INSTALACION DE PROTECTORES REGULARES o INSTALACION DE PROTECTORES INATASCABLES en la sección Servicio.)

E39866
E47357

Molinete


A-Brazo de barra de púas
B-Etiqueta

OUO1011,00051C4 -63-06AUG01-1/3


E44504

Protector inatascable

E44505

Protector regular


A-Bordes
B-Superficie
C-Barra de desgaste
D-Barra de segado
E-Lomo de la cuchilla
F-Desgaste, 4 mm (0.157 in.)

La vida útil del protector varía según el tipo de terreno, la altura de corte, el ángulo de ajuste del protector y la flotación de la plataforma. En general, cuando se trabaja en suelos muy abrasivos o en arena, los protectores duran aproximadamente 100 horas antes de ser necesario cambiarlos. En suelos menos abrasivos, es necesario cambiar los protectores cada 250 a 300 horas. (Ver INSTALACION DE PROTECTORES REGULARES e INSTALACION DE PROTECTORES INATASCABLES en la sección Servicio.)

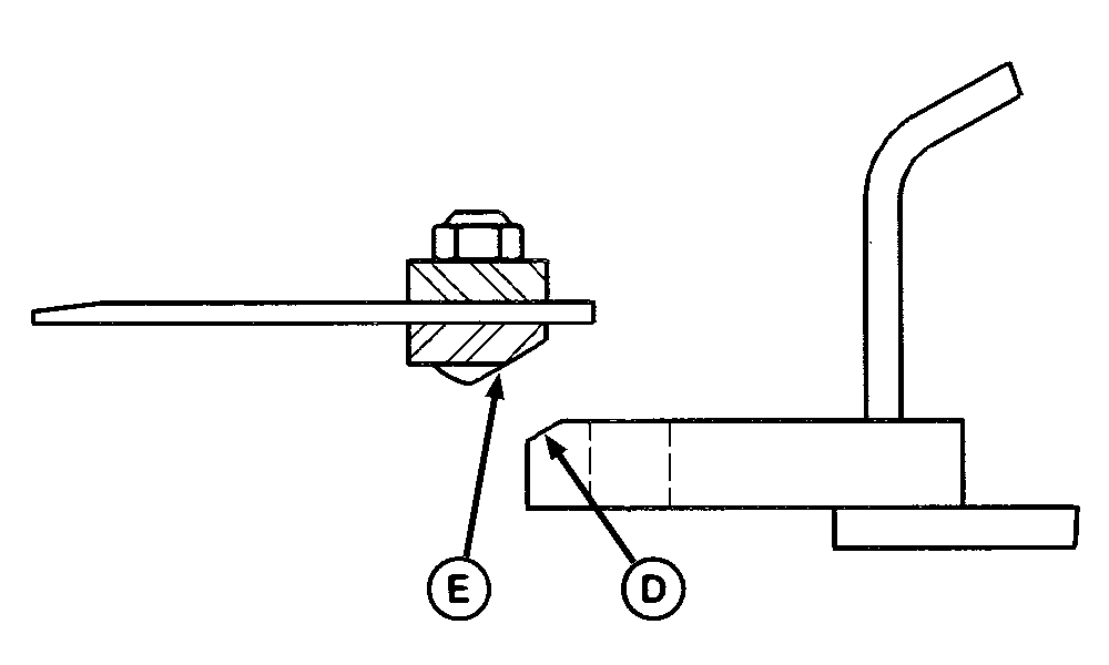
Es necesario sustituir los protectores cuando sus bordes cortantes (A), superficies (B) y barras de desgaste (C) se desgastan y adquieren forma redondeada.

Cuando las barras de desgaste (C) se desgastan (F) según las especificaciones, se puede producir desgaste excesivo en los lomos (E) de cuchillas y en la barra de segado (D). Sustituir los lomos (E) en tal caso.

Valor especificado

Barra de desgaste -Distancia (máxima) 4 mm (0.157 in.)

E44507

Barra de segado

OUO1011,00051C4 -63-06AUG01-2/3


Sustituir las secciones de cuchillas cuando ocurre desgaste excesivo (D), de acuerdo a las especificaciones, en el área (A) y filos (B) como se muestra.

Valor especificado

Borde de montaje de la sección de cuchilla -Distancia (máxima) 4 mm (0.157 in.)

NOTA: La tierra forma rayaduras en la parte superior de la sección de cuchilla cuando ésta sale por el filo dentellado.

Comprobar si hay desgaste en las secciones cuando se forman líneas de dentellado (C) en la parte superior de la sección de cuchilla, como se muestra. Cambiar las secciones de cuchillas según sea necesario.


A-Area
B-Filo
C-Dentellado
D-Desgaste, 4 mm (0.157 in.)

E44508

Sección de cuchilla

E44509

Sección de cuchilla

OUO1011,00051C4 -63-06AUG01-3/3