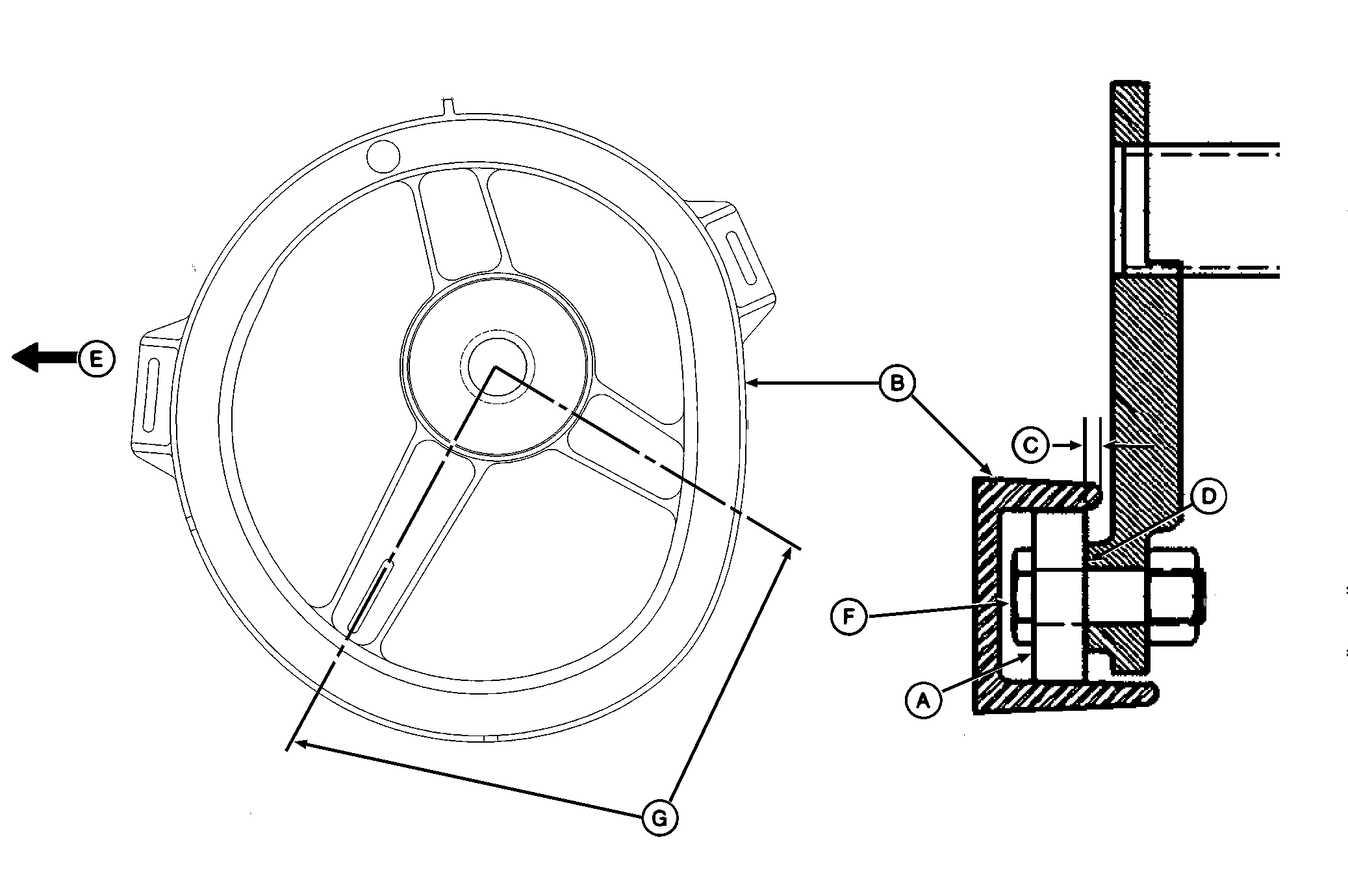
Ajuste del seguidor a la leva del molinete

E44519


A-Cojinete de seguidor de leva
B-Leva


C-Distancia de 4 mm (0.16 in.)


D-Posición de arandela
E-Sentido de avance


F-Bulón
G-Superficie

NOTA: Si el seguidor de leva está desajustado, comprobar el desgaste del cojinete del tubo de púas o el desgaste del cojinete del seguidor y de la leva del molinete.

1. Desengranar la correa impulsora del molinete.

NOTA: La dimensión (C) debe ser según las especificaciones.

Valor especificado

Cojinete del seguidor de leva a borde de la leva -Distancia (mínima) 4 mm (0.16 in.)

2. Comprobar la dimensión (C) entre el borde del cojinete (A) del seguidor y el borde de la leva (B).

3. Comprobar la dimensión (C) en la superficie (G) de la leva y en varios puntos alrededor de la leva.

IMPORTANTE: Usar un máximo de dos arandelas de 1-5/6 x 21/32 x 0.090 in. en el punto (D).

NOTA: Para agregar o quitar arandelas, ver SUSTITUCIÓN DE SEGUIDORES DE LEVA DE MOLINETE en esta sección.

4. Agregar o quitar arandelas del punto (D) según sea necesario. Hacer girar el molinete para asegurarse de que la cabeza del tornillo (F) no entre en contacto con el borde interior de la leva en ningún punto de su perímetro.

OUO1011,000520D -63-14JUN06-1/1