Ajuste de sujeciones de cuchillas regulares

NOTA: Para facilitar los trabajos de mantenimiento, ver ELEVACION DE BARRA DE PUAS DEL MOLINETE en esta sección.

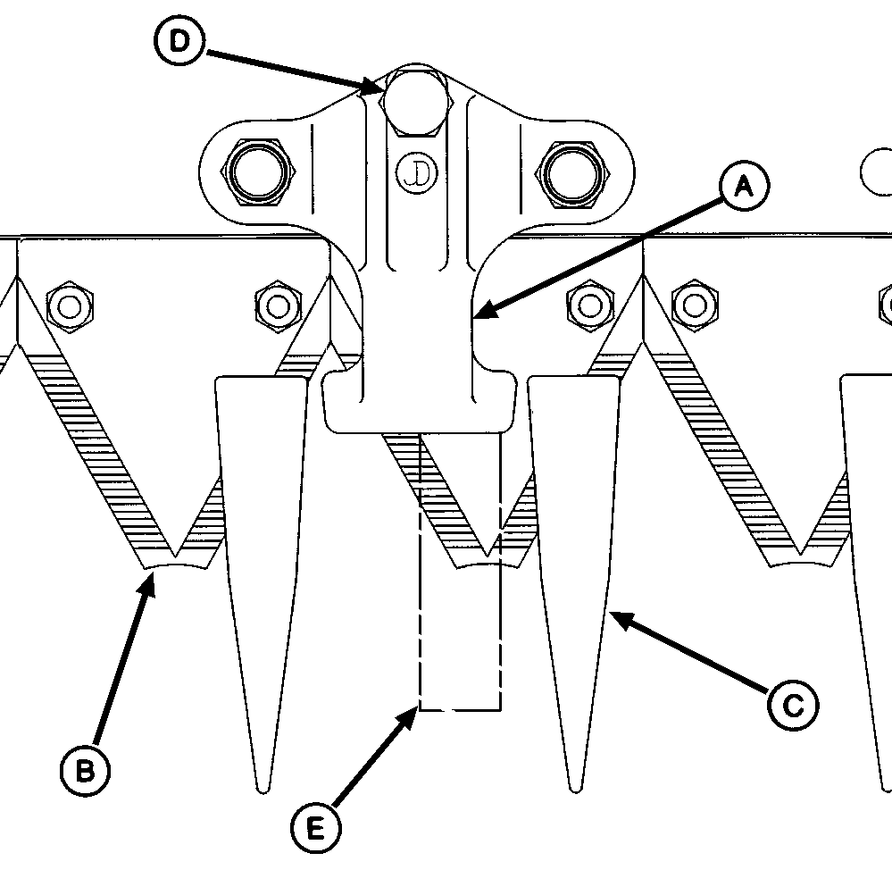
Las sujeciones (A) impiden que las secciones de cuchillas (B) se levanten de sus protectores (C) y permiten que la cuchilla se deslice sin atascarse.

IMPORTANTE: El apriete excesivo de las sujeciones causará el desgaste rápido de las sujeciones y las secciones de cuchillas. El desgaste aumenta cuando se trabaja en terrenos arenosos o lodosos.

1. Colocar las secciones de cuchilla (B) en el protector (C), como se muestra.

2. Insertar un calibrador de separaciones de 0,25 mm (0.010 in.) (E) entre lq sujeción (A) y la sección de cuchilla (B). Ajustar el tornillo de ajuste (D) de modo que el calibrador pueda sacarse aplicando una fuerza de tracción de 44.5 N (10 lbf).

IMPORTANTE: Cuando se ajustan las sujeciones centrales, asegurarse de que los extremos de las secciones izquierda y derecha queden superpuestos en el centro de la barra de corte. Si las secciones no quedan superpuestas, los componentes de corte se dañarán.

3. Mover las cuchillas izquierda y derecha completamente hacia adentro (con las secciones centrales superpuestas). Insertar un calibrador de separaciones de 0,38 mm (0.015 in.) entre la sujeción y la sección de cuchilla. Ajustar la sujeción central de modo que el calibrador pueda sacarse aplicando una fuerza de tracción de 44.5 N (10 lbf). (Ver AJUSTE DE LAS SUJECIONES DE CUCHILLAS INATASCABLES en esta sección.)

4. La separación máxima permisible entre las secciones de cuchillas y los protectores es de 0,76 mm (0.030 in.), medida entre el borde del protector y la parte inferior de la sección. Si la separación es excesiva, ver la sección Localización de averías para identificar y resolver el problema.

E41729


A-Sujeción regular
B-Sección de la cuchilla
C-Protector regular
D-Tornillo de reglaje
E-Calibrador

OUO1011,000521C -63-14JUN06-1/1