Equilibrio lateral de la plataforma

IMPORTANTE: Asegurarse de que la plataforma está nivelada a cada lado. Si la plataforma no está nivelada, puede causar un desgaste excesivo en el patín regulador y en la barra de corte.

1. Arrancar la hileradora, bajar la plataforma al suelo y hacer funcionar el motor a ralentí.

2. Oprimir ' + ' en el control de presión de flotación hasta que la plataforma comience a elevarse.

3. Observar qué extremo de la plataforma se eleva sobre el suelo. Si los dos extremos se elevan, observar cuál de ellos está más elevado.

E50271

Interruptor de presión de flotación

OUO6039,00013B9 -63-26JUL06-1/10


4. Acelerar el motor a velocidad de funcionamiento normal.

5. Aliviar la presión de flotación oprimiendo ' - ' en el control de presión de flotación hasta que se indique una presión de ' ' en la pantalla digital en la cabina.

NOTA: ·Si el lado izquierdo está más elevado, girar la hileradora a la derecha.

·Si el lado derecho está más elevado, girar la hileradora a la izquierda.

6. Hacer avanzar la hileradora una distancia corta mientras se gira en el sentido deseado.

7. Oprimir ' + ' en el control de presión de flotación de la plataforma hasta que se indique una presión de 1200 psi. Elevar la plataforma y aplicar la palanca de bloqueo (A) de la plataforma. Apagar la hileradora.

E40698

Lado izquierdo de la hileradora


A-Palanca de bloqueo de la plataforma

OUO6039,00013B9 -63-26JUL06-2/10


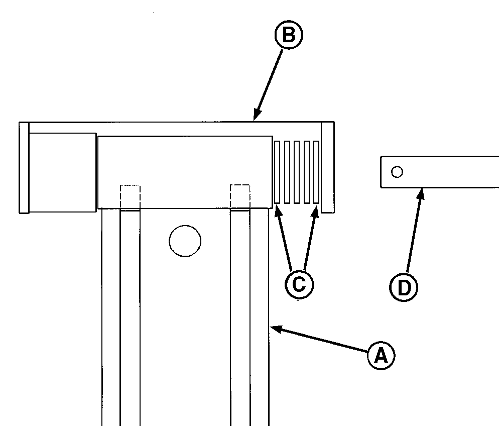
8. Sacar los pasadores hendidos y los pasadores de retención (D) del brazo elevador en ambos lados de la plataforma.

IMPORTANTE: No forzar las arandelas (C). Las arandelas deben quedar un tanto sueltas en los pasadores de retención.

9. Instalar arandelas de 1-1/2 x 13/16 x 0.060 in. (C) en cada lado según sea necesario para llenar la separación entre el brazo elevador (A) y el costado de la escuadra (B).

10. Instalar los pasadores de retención del brazo elevador y los pasadores hendidos.

11. Arrancar la hileradora. Soltar el bloqueo de la plataforma y bajar la plataforma al suelo.

12. Apagar el motor y retirar la llave.


A-Brazo elevador
B-Soporte de elevación
C-Arandelas de 1-1/2 x 13/16 x 0.060 in. (2)
D-Pasador

E44025

Se muestra el lado izquierdo

OUO6039,00013B9 -63-26JUL06-3/10


causym ATENCION: Para evitar lesiones personales y daños a la máquina, reducir la presión de flotación a 0 antes de ajustar el equilibrio de la plataforma.

13. Abrir la válvula de flotación del acumulador girando la perilla (A) en sentido contrahorario.


A-Palanca

E54595

OUO6039,00013B9 -63-26JUL06-4/10


14. Soltar el tornillo (A) y la contratuerca (B) en ambos lados de la máquina.

15. Aflojar el tornillo (C) en ambos lados de la máquina y empujar la parte superior del cilindro de flotación hacia la parte inferior de la ranura.


A-Tornillo cab. hex.
B-Contratuerca
C-Tornillo cab. hex.

E47764

OUO6039,00013B9 -63-26JUL06-5/10


16. Cerrar la válvula del acumulador girando la perilla (A) en sentido horario.

17. Arrancar el motor de la hileradora.


A-Palanca

E54284

OUO6039,00013B9 -63-26JUL06-6/10


18. Pulsar (+) en el control de presión de flotación hasta que la plataforma comience a elevarse. Observar qué extremo de la plataforma está más bajo.

19. Bajar la plataforma al suelo pulsando (-) en el interruptor de presión hasta que la presión de flotación indicada sea 0.

20. Apagar el motor y retirar la llave.

E50271

Interruptor de presión de flotación

OUO6039,00013B9 -63-26JUL06-7/10


21. Abrir la válvula de flotación del acumulador girando la perilla (A) en sentido contrahorario.


A-Palanca

E54284

OUO6039,00013B9 -63-26JUL06-8/10


22. Girar a la derecha el tornillo (C) situado en el lado más bajo de la plataforma para elevarlo.

23. Apretar el tornillo (A) y la contratuerca (B) en ambos lados de la máquina.


A-Tornillo cab. hex.
B-Contratuerca
C-Tornillo cab. hex.

E47764

OUO6039,00013B9 -63-26JUL06-9/10


24. Cerrar la válvula del acumulador girando la manija (A) en sentido horario.

25. Repetir el paso 14 (soltar el tornillo y la contratuerca en el lado necesario) y los pasos 17 al 24 hasta que la plataforma esté equilibrada.

26. Fijar la flotación de la plataforma. (Ver AJUSTE DE FLOTACIÓN DE LA PLATAFORMA en la sección Manejo de la hileradora del manual del operador 4895.)


A-Manija

E54284

OUO6039,00013B9 -63-26JUL06-10/10