Instalación de protectores regulares

IMPORTANTE: Instalar la barra de corte como se muestra en la página plegable siguiente. Si se usan los protectores con las barras de desgaste en las posiciones 1 y 2 se causarán daños a la máquina.

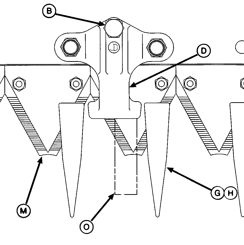
NOTA: Se ilustra la barra de corte de 14 ft.

Quitar ambas correas impulsoras y cuchillas de la barra de corte. Ver SUSTITUCION DE LA CORREA IMPULSORA DE CUCHILLA (AMBOS LADOS) y RETIRO DE LAS CUCHILLAS, en esta sección.

POSICION 1

IMPORTANTE: Para asegurar la buena alineación del protector, se deben empujar los protectores contra la barra de corte y retenerlos mientras se aprietan los pernos. Apretar las tuercas al valor especificado. Si los protectores no están alineados, la barra de corte no se desgastará uniformemente.

Valor especificado

Tuercas -Pares de apriete 65 N·m (37 lb-ft)

NOTA: Se usa un protector regular (F) derecho y uno izquierdo en los extremos. Estos protectores tienen una barra para residuos en uno de sus lados solamente.

  • Se ilustra el extremo derecho.
  • En el primer y segundo agujero de los extremos derecho e izquierdo de la barra de corte, instalar un protector regular (F) derecho y uno izquierdo sin barra de desgaste y con una lengüeta en la barra para residuos, usando un perno de cabeza redonda M12 x 40 (K) y una contratuerca (A).

POSICION 2

  • Se ilustra el extremo derecho.
  • Instalar dos protectores (SIN BARRAS DE DESGASTE) (G) en los cuatro agujeros siguientes de cada extremo de la barra de corte.
  • Instalar el protector (G) usando pernos de cabeza redonda M12 x 40 (K) y contratuercas (A) a través de los agujeros 3 y 4 de cada extremo.
  • Instalar el protector (G) y la sujeción (D) con tornillo de ajuste (B) usando pernos de cabeza redonda M12 x 45 (L) y contratuercas (A) a través de los agujeros 5 y 6 de cada extremo.

POSICION 3

NOTA: La POSICION 3 es el punto de equilibrio de la barra de corte, con la EXCEPCION de los dos agujeros en el centro de la POSICION 4 de la barra de corte.

  • Instalar un protector regular con barra de desgaste (H) y una pletina de desgaste (N) de cuchilla en los dos agujeros siguientes de cada extremo de la barra de corte, usando pernos de cabeza redonda M12 x 40 mm (K) y contratuercas (A).
  • Instalar un protector regular con barra de desgaste (H) y la sujeción regular (D) con tornillo de ajuste (B) en los dos agujeros siguientes de cada extremo de la barra de corte, usando pernos M12 x 45 (L) y tuercas (A).
  • Repetir el procedimiento en los agujeros restantes de la posición 3.

POSICION 4

  • Instalar el protector (I) y la sujeción (E) inatascables con tornillo de ajuste (C), usando pernos de cabeza redonda M12 x 70 (J) y contratuercas (A).
  • Instalar las cuchillas. (Ver INSTALACION DE LAS CUCHILLAS en esta sección.)

    IMPORTANTE: El apriete excesivo de las sujeciones causará el desgaste rápido de las mismas y las secciones de cuchillas.

  • Colocar las secciones de cuchilla (M) en el protector (G) o (H), como se muestra.
  • Insertar un calibrador de separaciones (O) de 0,25 mm (0.010 in.) entre la sujeción (D) y la sección de cuchilla (M). Ajustar el tornillo de ajuste (B) de modo que el calibrador pueda sacarse aplicando una fuerza de tracción de 44.5 N (10 lbf).

OUO6059,0001434 -63-26JUL06-1/3


IMPORTANTE: Cuando se ajustan las sujeciones centrales, asegurarse que los extremos de las secciones izquierda y derecha queden superpuestos en el centro de la barra de corte. Si las secciones no quedan superpuestas, los componentes de corte se dañarán.

  • Mover las cuchillas izquierda y derecha completamente hacia adentro (con las secciones centrales superpuestas). Insertar un calibrador de separaciones de 0,38 mm (0.015 in.) entre la sujeción y la sección de cuchilla. Ajustar la sujeción central de modo que el calibrador pueda sacarse aplicando una fuerza de tracción de 44.5 N (10 lbf). (Ver AJUSTE DE LAS SUJECIONES DE CUCHILLAS INATASCABLES en esta sección.)
  • La separación máxima permisible entre las secciones de cuchillas y los protectores es de 0,76 mm (0.030 in.), medida entre el borde del protector y la parte inferior de la sección.
  • Girar las poleas impulsoras de cuchillas, haciéndolas oscilar para comprobar que los componentes se muevan libremente. Instalar la correa impulsora de cuchillas y sincronizar las cuchillas. Ver los procedimientos siguientes en la sección Servicio:
    • SINCRONIZACION DE CUCHILLAS
    • SUSTITUCION DE CORREA IMPULSORA DE CUCHILLA (AMBOS LADOS)
    • AJUSTE DE CORREA IMPULSORA DE CUCHILLA (AMBOS LADOS)
  • Hacer funcionar la máquina de 2 a 3 minutos para asegurar que las secciones de cuchilla no se calienten ni se atasquen. Corregir los problemas, si los hay.
E41730


A-Contratuerca
B-Tornillo de ajuste de 10 x 16
C-Tornillo de ajuste de 10 x 20
D-Sujeción, regular
14 ft - 12 (x)
16 ft - 14 (x)
18 ft - 16 (x)
E-Sujeción inatascable
F-Protectores regulares derecho e izquierdo sin barra de desgaste y una lengüeta para barra de residuos
(se usa 1 cada vez)
G-Protectores regulares sin barras de desgaste (4)
H-Protector, regular, con barra de desgaste
14 ft - 22 (x)
16 ft - 26 (x)
18 ft - 30 (x)
I-Protector inatascable con barra de desgaste (1)
J-Pernos, cabeza redonda, M12 x 70
K-Pernos, cabeza redonda, M12 x 40
L-Pernos, cabeza redonda, M12 x 45
M-Sección de la cuchilla
N-Pletina de desgaste de cuchillas
O-Calibrador

OUO6059,0001434 -63-26JUL06-2/3


E50658

OUO6059,0001434 -63-26JUL06-3/3