Ajuste de sincronización de rodillos acondicionadores

NOTA: Bajar la plataforma al suelo para impedir que los rodillos acondicionadores sean separados por los varillajes de separación.

1. Bajar la plataforma y retirar la llave de contacto.

OUO6085,0000669 -63-02NOV06-1/6


IMPORTANTE: Los tacos/acanaladuras de rodillos superiores e inferiores deben estar centrados, de lo contrario se dañarán los rodillos al usar la máquina.

NOTA: Se puede insertar un perno de 13 mm (1/2 in.) de diámetro entre los tacos para usarlo como calibrador y revisar si los tacos del rodillo de uretano están centrados.

2. Rodillos de uretano: Revisar las separaciones (A) entre los tacos de los rodillos superior e inferior.

Valor especificado

Tacos de rodillos de uretano superior/inferior -Holgura 13 mm (1/2 in.)

Si las distancias entre los tacos de los rodillos no son iguales, continuar con el paso 3.

E38035

Rodillos de uretano


A-Holgura

OUO6085,0000669 -63-02NOV06-2/6


3. Rodillos con acanaladuras de acero y rodillos con tres lóbulos: Aflojar los cuatro tornillos (A).


A-Tornillos
B-Eje impulsor superior

E48976

OUO6085,0000669 -63-02NOV06-3/6


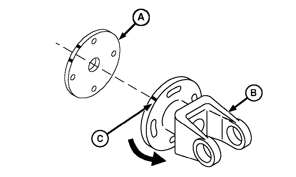
4. Sujetar la polea impulsada (A) y girar la brida (B) de la línea de mando en sentido contrahorario hasta que los tacos de los rodillos choquen entre sí.

5. Hacer una marca (C) en los bordes adosados de la brida del eje de transmisión y la polea impulsada.


A-Polea impulsada
B-Brida de eje de transmisión
C-Marca de alienación

E48414

OUO6085,0000669 -63-02NOV06-4/6


6. Sujetar la polea impulsada (A) y girar la brida (B) del eje de transmisión en sentido horario hasta que los tacos de los rodillos choquen entre sí.

7. Hacer una marca (D) en el borde adosado de la polea impulsora, frente a la marca (C) hecha en la brida del eje de transmisión.


A-Polea impulsada
B-Brida de eje de transmisión
C-Marca
D-Marca de alienación

E48415

OUO6085,0000669 -63-02NOV06-5/6


8. Sujetar la polea impulsada (A) y girar la brida (B) del eje de transmisión en sentido contrahorario hasta que la marca de alineación (C) quede a la mitad de la distancia entre las marcas hechas en el borde adosado de la polea impulsada.

9. Apretar los cuatro tornillos a los valores especificados.

Valor especificado

Polea a tapa de brida de eje de transmisión -Par de apriete 95 N·m (70 lb-ft)

10. Cerrar la puerta lateral.


A-Polea impulsada
B-Brida de eje de transmisión
C-Marca de alienación

E48416

OUO6085,0000669 -63-02NOV06-6/6