Installing Tongue Positioner

NOTE: Hydraulic cylinder illustrated. A pull-rope tongue positioner may also be used.

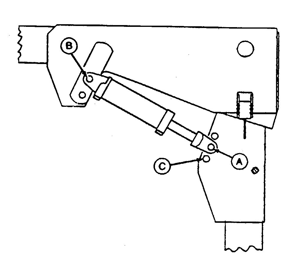
To operate mower-conditioner with tractor tires centered over windrow, tongue positioner must be installed in the center hole (A) of tongue and in the rear hole (B) of carrier frame.

To operate mower-conditioner with tractor tires close to uncut crop, move cylinder pin from center hole (A) of tongue to front hole (C).

E37603

EX,820I,D -19-19JAN95-1/3


Pull Rope Mechanical Positioner

1. Install positioner in rear hole (A) of carrier frame and middle hole (B) of tongue frame. Fasten with two attaching pins and four cotter pins.

2. Route rope through guides (C) along tongue.

E37648

EX,820I,D -19-19JAN95-2/3


Hydraulic Cylinder

IMPORTANT: Install a 3 x 8-in. hydraulic cylinder rated at 3000 psi. If a 3000 psi hydraulic cylinder is not used, cylinder damage will occur.

1. Install hydraulic cylinder in rear hole (A) of carrier frame and middle hole (B) of tongue frame. Fasten with two attaching pins and four cotter pins.

2. If hydraulic hoses have not been routed previously, route hoses (C) through rear of tongue.

3. Adjust elbow fittings (D) as shown. Attach hydraulic hoses (C) and tighten fittings.

4. Install tie band (E).

5. Install hose clamp (F). Fasten with existing cap screw.

6. Install tie band (G) around hydraulic cylinder hoses and hydraulic lift hose.


A-Rear Hole (Carrier Frame)
B-Middle Hole (Tongue Frame)
C-Hydraulic Cylinder Hoses
D-Elbow Fittings
E-Tie Band
F-Hose Clamp
G-Tie Band

E37646
E37647

EX,820I,D -19-19JAN95-3/3