Adjusting Tractor Drawbar

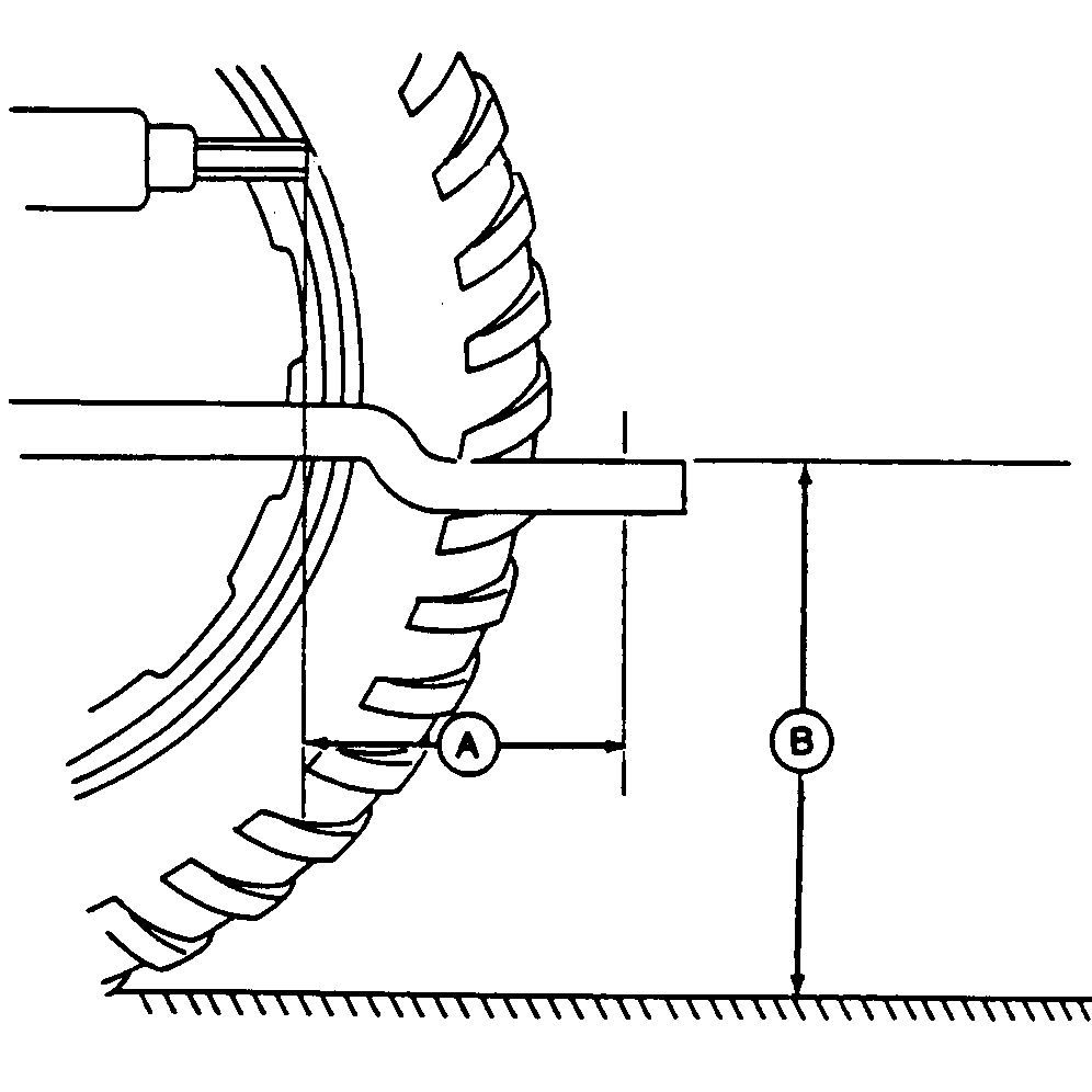
IMPORTANT: Adjust tractor drawbar so it measures 356 mm (14 in.) for 540 rpm PTO from end of power take-off shaft to center of hitch pin hole in drawbar. Failure to do so can cause damage to PTO driveline.

Set drawbar to the following dimensions:

A-356 mm (14 in.)
B-330 to 508 mm (13 to 20 in.)

E37604

EX,820V,A -19-21OCT93-1/2


If mower-conditioner is equipped with a ball-joint hitch, install drawbar extension on tractor:

NOTE: Two bushings (C) are included with the hitch, if needed. Use largest bushing required to fit in hole.

Fasten using two cap screws (A and B), washers (E) and castellated nuts.

Use washers (E) as required, to locate hole in castellated nuts. Tighten nuts to 244 Nm (185 lb-ft).


A-5/8 x 4-1/2 in. Cap Screw
B-1 x 4-1/2 in. Cap Screw
C-Bushings
D-Pins
E-Washers

E33412

EX,820V,A -19-21OCT93-2/2