Adjusting Mower-Conditioner Hitch

IMPORTANT: Driveline must be level when operating mower-conditioner. Put hitch in correct position to prevent driveline damage.

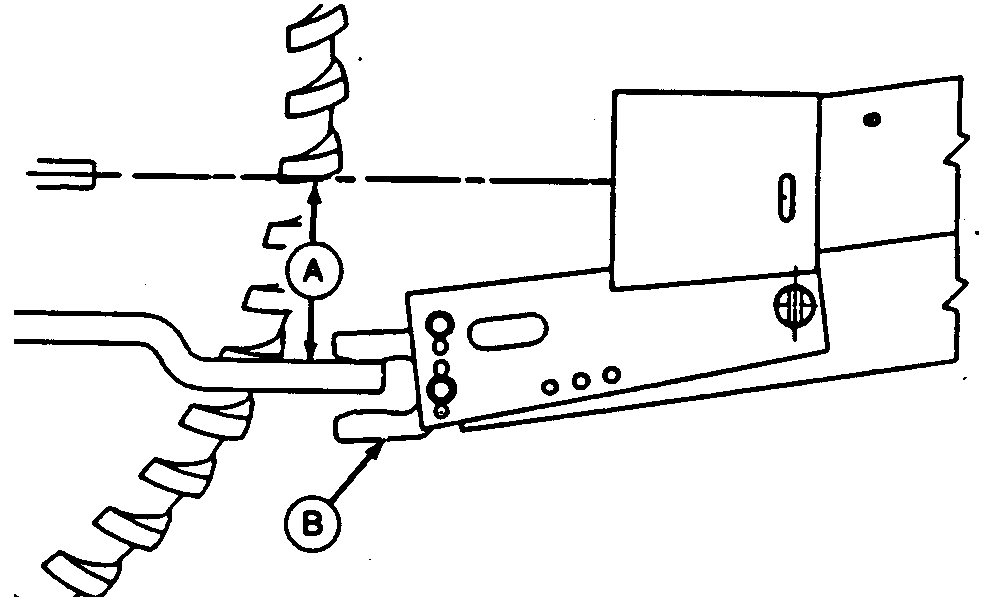
NOTE: The clevis hitch is illustrated for the following procedure. The ball-joint hitch and extension may also be used.

1. Measure distance (A) between hitch point and centerline of PTO shaft.

2. If distance (A) is 210 to 237 mm (8-1/4 to 9-3/8 in.) , put hitch (B) in highest setting. (Top hole)

E37656

Highest Setting

EX,820W,H -19-04MAY95-1/5


NOTE: Most John Deere 6000 and 7000 Series tractors require mower-conditioner hitch to be in lowest setting.

3. If distance (A) is 238 to 265 mm (9-3/8 to 10-1/2 in.) , put hitch (B) in lowest setting. (Bottom hole)

E37657

Lowest Setting

EX,820W,H -19-04MAY95-2/5


NOTE: Most tractors that require clevis support channel, also require turn limiters. The support channel is included with the wide turn limiter kit, or can be obtained through Service Parts. (See Determining Need For Turn Limiters in this section.)

4. If distance (A) is 266 to 296 mm (10-1/2 to 11-5/8 in.) , install clevis support channel (B) in third hole from the top. Install clevis. Fasten with two M16 x 200 cap screws (C) and lock nuts, and two M12 x 30 cap screws (D) and lock nuts.

E37658


A-266 to 296 mm (10-1/2 to 11-5/8 in.)
B-Clevis Support Channel
C-M16 x 200 Cap Screws
D-M12 x 30 Cap Screws

EX,820W,H -19-04MAY95-3/5


5. If distance (A) is 297 to 321 mm (11-5/8 to 12-5/8 in.) , install clevis support channel (B) in fourth hole from the top. Install clevis. Fasten with two M16 x 200 cap screws (C) and lock nuts, and two M12 x 30 cap screws (D) and lock nuts.


A-297 to 321 mm (11-5/8 to 12-5/8 in.)
B-Clevis Support Channel
C-M16 x 200 Cap Screws
D-M12 x 30 Cap Screws

E37659

EX,820W,H -19-04MAY95-4/5


6. If distance (A) is 322 to 350 mm (12-5/8 to 13-3/4 in.) , install clevis support channel (B) in bottom hole. Install clevis. Fasten with two M16 x 200 cap screws (C) and lock nuts, and two M12 x 30 cap screws (D) and lock nuts.


A-322 to 350 mm (12-5/8 to 13-3/4 in.)
B-Clevis Support Channel
C-M16 x 200 Cap Screws
D-N12 x 30 Cap Screws

E37660

EX,820W,H -19-04MAY95-5/5