Using Net Wrap After Extended Storage1

causym CAUTION: Avoid injury from net wrap system cycling and entanglement in moving rolls. Disengage PTO, shut off tractor engine and disconnect monitor/controller power plug from tractor convenience outlet before servicing.

To minimize start-up problems after storage or after extended twine wrapping operation:

1. Raise net wrap cover. (See OPENING AND CLOSING NET WRAP COVER in this section.)

E40200

1 Information common with Technical Manual.

AG,OUO6017,1600 -19-03NOV99-1/7


2. Remove excessive dust or crop material from feed rolls (A) and stainless steel net roll supports (B) with a dry cloth.


A-Feed Rolls
B-Roll Supports

E40169

AG,OUO6017,1600 -19-03NOV99-2/7


3. Remove rust from net wrap brake (A), using SCOTCH-BRITE ® or ultra-fine sandpaper. When using sandpaper, polish marks must be parallel to movement of mesh.


A-Net Wrap Brake

E36892

SCOTCH-BRITE is a registered trademark of the 3M Company.

AG,OUO6017,1600 -19-03NOV99-3/7


causym CAUTION: Be careful when working around the knife. It is sharp.

Be sure bystanders stand clear before operating net wrap.

4. To clean guide (A) with dry cloth:

IMPORTANT: Current overload protection to net actuator is bypassed when using channel 14. Extended use of channel 14 may cause actuator damage.

NOTE: Channel 14 allows operator use of EXTEND and RETRACT keys to position net actuator for service.

a. Turn tractor key to ON position. Do not start tractor engine.

b. Press and hold DEERE key while setting monitor-controller selector switch to NET. "CH 01" will appear in the digital display.

c. Continue to hold DEERE key and press PLUS key to advance to "CH 14". Release DEERE key.

d. Press and hold EXTEND or RETRACT key to move knife (B) to the rear position.

e. Turn tractor key to OFF position. Remove key. Set monitor-controller selector switch to OFF (centered) position. Disconnect monitor-controller power plug from tractor convenience outlet.

f. Pull lever (C) out and forward.

g. Clean guide (A) with dry cloth.

5. Close net wrap cover.


A-Guide
B-Knife
C-Lever

TS268
E40246
E40247

AG,OUO6017,1600 -19-03NOV99-4/7


causym CAUTION: When positioning the gate to provide access for service, always be sure tension arm is fully raised, and against its stops. This is to prevent the gate from rotating downward unexpectedly while service work is being performed. ALWAYS raise the gate fully and lower it to the desired opening height before engaging the gate lock. Crop material can hold the tension arm at a lower position, and if this material is disturbed during service, the tension arm can swing up, and the gate can swing suddenly downward, even if the gate lock is engaged. Verifying that tension arm is positioned against its stops will avoid this situation. Failure to do this may result in serious injury or death.

Close the gate any time baler must be left unattended.

IMPORTANT: Do not lower gate with the lower net wrap guide assembly detached from the belt guide or damage to the guide will result.

Do not operate the baler belts with the lower net wrap guide assembly detached from the belt guide, or belt damage may result.

6. Start tractor engine.

7. Raise gate fully, then lower gate until lower front gate roll is approximately 1 m (3-1/3 ft) above the ground.

8. Shut off tractor engine and remove key.

9. Lock gate.

TS698

AG,OUO6017,1600 -19-03NOV99-5/7


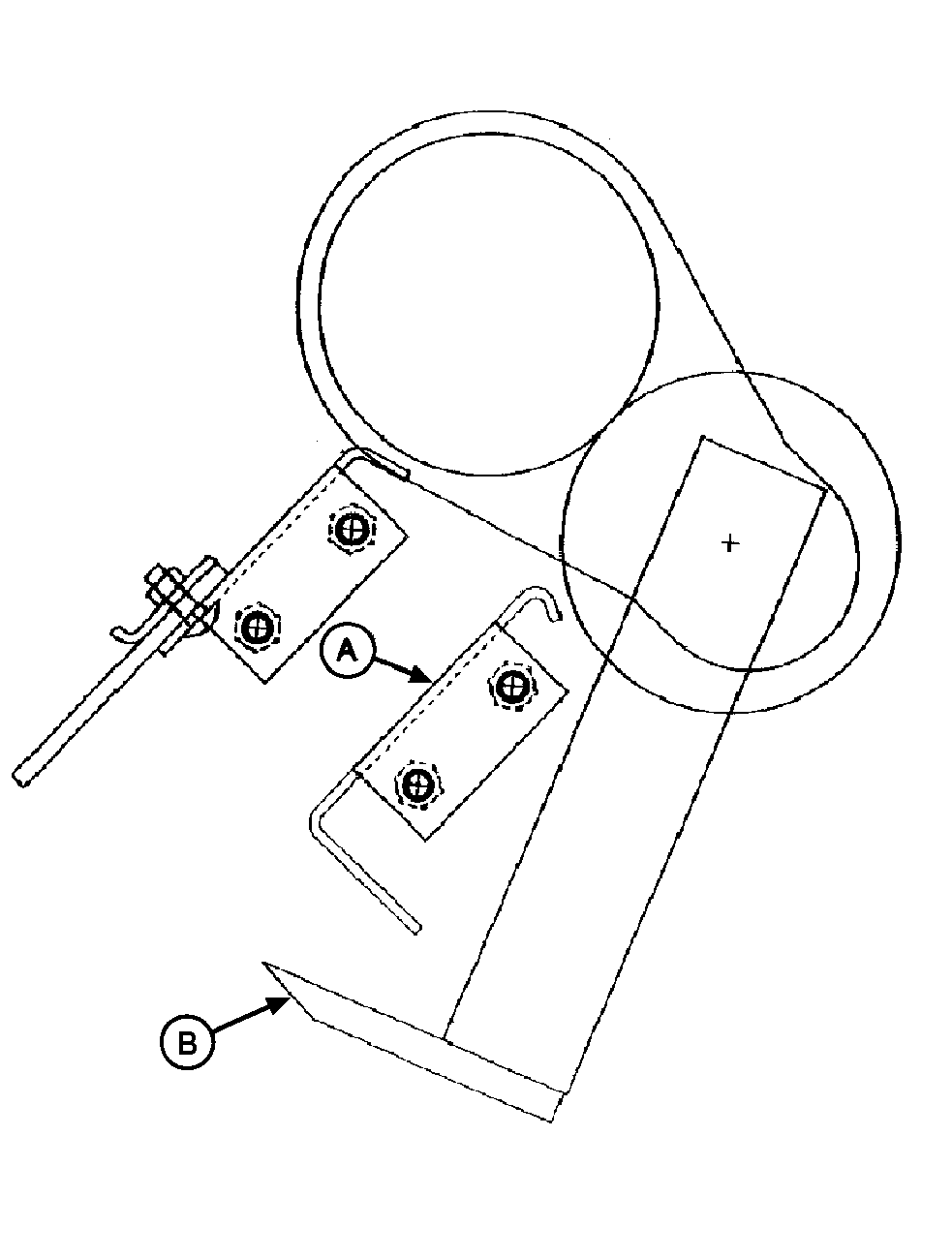
10. Remove two cap screws (A) holding front corners of lower net wrap guide assembly to belt guide.

11. Swing front of guide assembly (B) away from gate roll.

12. Polish all of sheet metal area (C) until smooth using SCOTCH-BRITE ® or ultra-fine sandpaper. When using sandpaper, polish marks must be paralleled to movement of mesh.


A-Cap Screws
B-Guide Assembly
C-Sheet Metal Area

E34277
E39989

SCOTCH-BRITE is a registered trademark of the 3M Company.

AG,OUO6017,1600 -19-03NOV99-6/7


13. Position belts between guide straps (A).

14. Swing front of assembly toward the roll.

15. Align the holes and attach with bolts.

IMPORTANT: If belt guide strap clearance is excessive, damage to baler belts can occur.

If belt guide strap clearance is insufficient, slitting of net material during feeding can occur.

NOTE: Use 1/8-in. drill bit as a gauge to check clearance between straps and crossmember.

16. Check and adjust clearance between ends of all belt guide straps and the bottom crossmember. Clearance must be within specifications.

Specification

Belt Guide Strap-to-Bottom Crossmember -Clearance 1-3 mm (0.039-0.118 in.)

17. Tighten cap screws (B).

IMPORTANT: If Steps 18 through 20 are not followed, net will be fed continuously during the next bale.

18. Connect monitor-controller power plug to tractor convenience outlet. Turn tractor key to ON position. Set monitor-controller selector switch to NET.

19. Press WRAP key to return net knife arms to home (forward) position.

20. Turn tractor key to OFF position. Remove key. Set monitor-controller selector switch to OFF (centered) position.

21. Check and adjust lower net wrap guide. (See CHECKING AND ADJUSTING LOWER NET WRAP GUIDE in Service-Net Wrap section.)

E34279
E39724


A-Guide Straps
B-Cap Screws

AG,OUO6017,1600 -19-03NOV99-7/7