Adjusting Starter Roll Scraper (If Equipped)

causym CAUTION: Be careful when working around starter roll scraper. The knife is sharp and can cause serious injury.

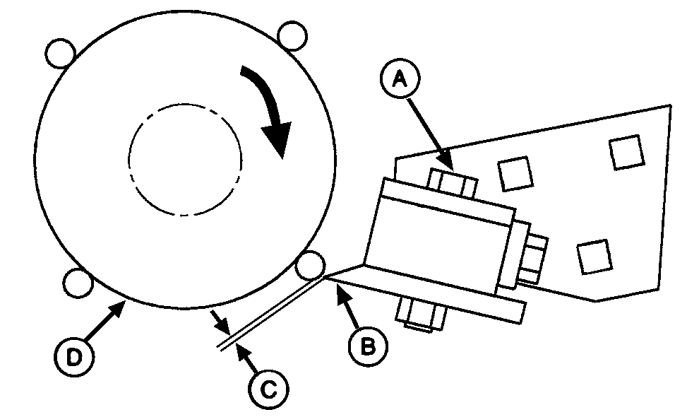
Rotate starter roll in direction shown to avoid pinching fingers.

1. Clear area of all debris between knife and starter roll.

2. Loosen screws (A).

3. Clearance (C) must be within specifications.

Specification

Scraper Bar-to-Starter Roll -Clearance 0.5-1.0 mm (0.020-0.039 in.)

4. Tighten screws (A).

5. Manually rotate starter roll (D) to check clearance at all bars. Readjust if necessary.

TS268
E39713


A-Screws
B-Scraper Bar
C-Clearance
D-Starter Roll

AG,OUO6017,1726 -19-10NOV99-1/1