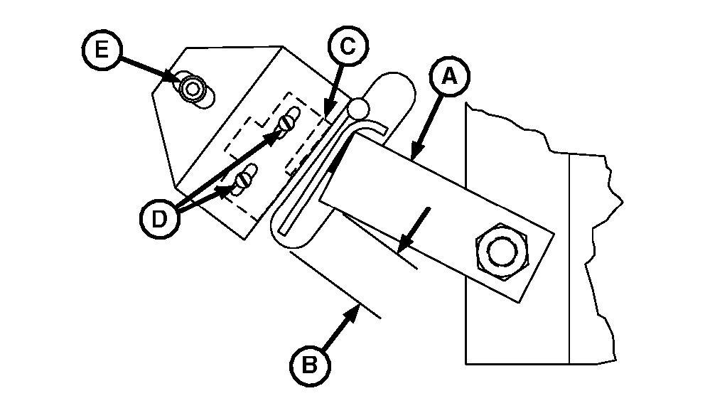
Adjusting Oversize Bale Switch

1. Close and latch gate.

2. Raise oversize bale lever (A) to dimension (B) above lower end of slot.

NOTE: Gate must be closed for oversize bale indicator to be displayed.

3. Check lever-to-roller contact point. Switch contacts should be closed (OVERSIZE BALE indicator/alarm must be activated on the controller) and clearance (C) between switch arm and switch body within specifications.

Specification

Bale Lever-to-Switch -Clearance 0.79-2.38 mm (0.03-0.10 in.)

4. If necessary, loosen switch screws (D) and/or bracket cap screw (E). Position switch so lever contacts roller at point shown.

IMPORTANT: Switch or switch bracket must not interfere with bale lever travel or damage to switch may occur.

5. Raise lever to the top of slot to check for interference and binding. Adjust switch if necessary.

6. Confirm switch operation by taking test readings using monitor-controller. (See TESTING GATE LATCH AND OVERSIZE BALE SWITCHES-MONITOR ASSISTED [CHANNELS 11, 12 AND 13] in this section.)

E38433


A-Lever
B-Dimension, 13 mm (0.512 in.)
C-Clearance
D-Switch Screws
E-Cap Screw

AG,OUO6017,1758 -19-12NOV99-1/1