Checking and Adjusting Net Wrap Switch

causym CAUTION: Be careful when working around knife. It is sharp.

1. Turn tractor key to ON position. Do not start tractor engine. Set monitor-controller selector switch to NET symbol to turn monitor-controller ON.

2. Press WRAP key to cycle net actuator. Knife at home (forward) position.

3. Set monitor-controller selector switch to OFF (centered) position. Turn tractor key to OFF position. Remove key. Disconnect monitor-controller power plug from tractor convenience outlet.

4. Open net wrap cover.

5. Clean area around switch area.

TS268

AG,OUO6040,467 -19-22OCT99-1/4


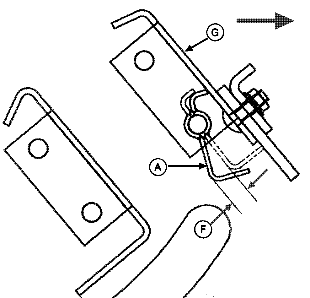
6. Push cutoff channel (A) forward and release. Distance (F) should meet specifications. Make sure it moves forward and returns freely. (See ADJUSTING CUTOFF INDICATOR CHANNEL TRAVEL in this section.)

Specification

Cut-Off Indicator Channel -Distance 6-10 mm (0.236-0.394 in.)

If switch arm pin (E) is not between cutoff channel and rubber flap, dimension (F) will be less than specification. Any binding can cause false reading on monitor-controller.

7. Locate and correct channel or switch arm (B) binding before proceeding. The most likely causes of binding are contact between:

  • Switch arm pin (E) and slot in side frame.
  • Switch arm (B) and switch body.
  • Cutoff channel (A) and pivot bolt ends.
  • Switch arm (B) and tie bands or wiring harness.

8. Push cutoff channel (A) fully forward and listen for switch to "click." Release cutoff channel (A) and listen for another "click."

9. If either "click" cannot be heard, adjust switch as follows:

a. Loosen switch mounting screws (C).

b. Move switch until switch lever (D) is depressed as far as possible by pin (E) on switch arm (B). Avoid switch lever contact with switch body to prevent bending of switch lever. Tighten mounting screws (C).


A-Cut-Off Indicator Channel
B-Switch Arm
C-Switch Mounting Screws
D-Switch Lever
E-Pin
F-Dimension
G-Front Cross Support

E41701
E42914
E41698

Actuator Removed For Illustration Only

AG,OUO6040,467 -19-22OCT99-2/4


c. Check adjustment by pushing cutoff channel (A) fully forward and listening for switch to "click". Release cutoff channel (A) and listen for another "click".

  • If switch does not "click" when cutoff channel (A) is released, check for binding channel or switch arm, or inadequate channel travel. (See ADJUSTING CUTOFF INDICATOR CHANNEL TRAVEL in this section.)
  • If switch cannot be adjusted to "click," replace switch.

10. Check net switch signal to monitor-controller. (See TESTING NET WRAP SWITCH-MONITOR-CONTROLLER ASSISTED TEST [CHANNEL 10] in this section.)

E41701


A-Cutoff Channel

AG,OUO6040,467 -19-22OCT99-3/4


11. Close net wrap cover.

IMPORTANT: After making switch adjustment, turn monitor-controller ON. Press WRAP key (B) to return net knife arms to home position. Turn monitor-controller off to cancel STOP alarm. If this procedure is not followed, net will be fed continuously during the next bale.

12. Connect monitor-controller power plug to tractor convenience outlet. Turn tractor key to ON position. Set monitor-controller selector switch to NET symbol (A) to turn monitor-controller ON.

13. Press WRAP key (B) to cycle net wrap actuator. Knife at home (forward) position.

14. Set monitor-controller selector switch to OFF (centered) position. Turn tractor key to OFF position. Remove key.

E47530


A-NET Symbol
B-WRAP Key

AG,OUO6040,467 -19-22OCT99-4/4