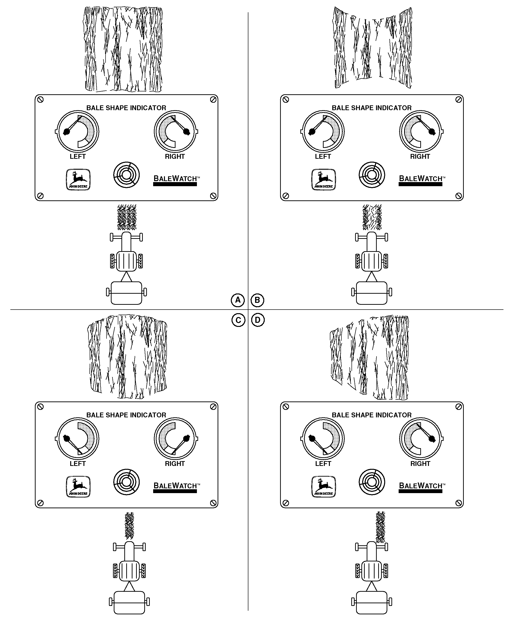
Interpreting Bale Shape Indicators

E38540

AG,OUMX005,1311 -19-18MAR00-1/2



A-Best Shaped Bale


B-Hourglass Shaped Bale


C-Barrel Shaped Bale


D-Cone Shaped Bale

The illustration on the facing page and the following information describes the relationship between the monitor, windrow variations, and actual bale shape.

To ensure optimum bale shape and maximum bale density, the needle on BOTH monitor gauges should reach the top of the operating zone (near "dot") as shown in Example (A). Needles should be at the top of the operating zone when bale is being wrapped and for as much time as is possible during bale formation. Refer to RECOMMENDED BALING GUIDELINES in this section.

IMPORTANT: Bale shape indicators show the shape of each end of the bale by measuring slack in the two outside belts nearest the left-hand and right-hand sidesheets. When the left-hand belt is tight, the left-hand indicator will read high showing that side of baler is filled with hay. As the needle moves toward the bottom, it indicates that side of the bale needs hay to tighten the belt.

A -Best shaped bales are formed when windrow has uniform density side-to-side and the width is the same as bale chamber (1.2 or 1.5 m [4 ft or 5 ft]).

Weaving is not necessary. If this is not practical, create windrows up to one-half the width of bale chamber and follow the bale shape indicators. (Refer to RECOMMENDED BALING GUIDELINES in this section.)

B -If full-width windrow is heavy on the outside edges and light at the center, an hourglass shaped bale will be formed even though shape indicator needles are balanced and high. This may also happen with wide windrows on 456/456S balers equipped with wide pickup.

If possible, weaving back and forth across the windrow will help to fill the middle of the bale. Otherwise, proper windrow formation (raking, etc.) may be needed.

C -Both indicators will read low and a barrel shaped bale is formed if any of the following conditions exist:

  • Windrow width is approximately 2/3-3/4 the width of the baler.
  • Windrow correct but operator may not be weaving over far enough.
  • The windrow is full width but heavier density in the middle of the windrow.
  • Weaving back and forth too frequently.

If windrow is almost as wide as the bale chamber, reduce tractor rpm and increase ground speed to spread material across pickup.

Windrow preparation should be less than one-half bale chamber or full width of bale chamber. If necessary, rake windrow to obtain correct width.

Bale shape indicator needles may not reach maximum height when operating at reduced bale density using variable core option. This is also true when operating in certain crops such as light coastal Bermuda Grass or short wheat straw, because ends of bale are soft.

D -If narrow windrow is baled without weaving back and forth, a cone shaped bale will be formed.

  • Operator feeding one side more than other.

Weave back and forth across narrow windrow to feed crop to keep both indicator needles as high as possible. (Refer to WEAVING IN THE WINDROW in this section.)

AG,OUMX005,1311 -19-18MAR00-2/2