Baler Wiring Harness Diagram
|
|
AG,OUMX005,1349 -19-19MAR00-1/3
|
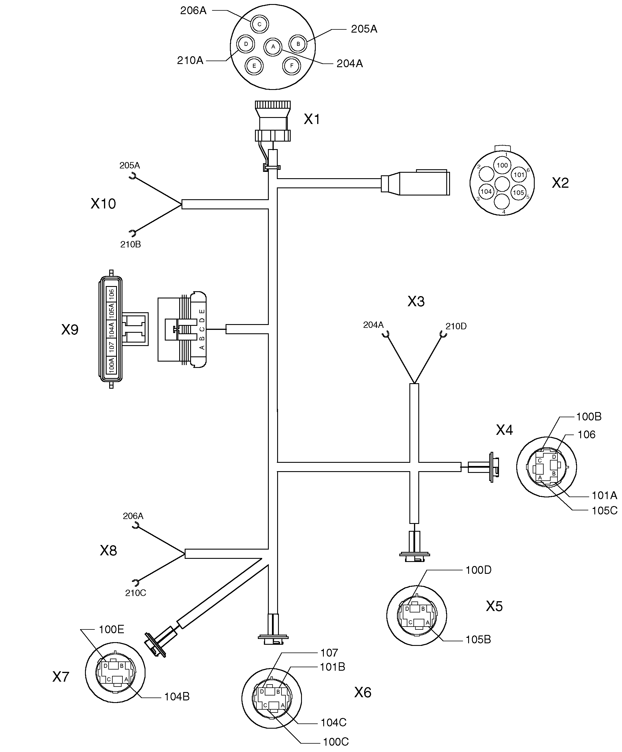
| X1 BALE WATCH™ Harness Connector |
| Terminal |
Circuit |
Function |
Wire Color |
| A |
204A |
RH Sensor to RH Gauge |
Yellow |
| B |
205A |
Bale Size Alarm |
Green |
| C |
206A |
LH Sensor to LH Gauge |
Blue |
| D |
210A |
Ground |
Black |
| E |
|
Open |
|
| F |
|
Open |
|
| X2 To Tractor Seven-Terminal Outlet |
| Terminal |
Circuit |
Function |
Wire Color |
| 1 |
100 |
Ground |
Black |
| 2 |
|
Open |
|
| 3 |
104 |
LH Turn/Warning Light |
Yellow |
| 4 |
|
Open |
|
| 5 |
105 |
RH Turn/Warning Light |
Green |
| 6 |
101 |
Tail Lights |
Brown |
| 7 |
|
Open |
|
| X3 Right-Hand Bale Size Sensor Leads |
| Terminal |
Circuit |
Function |
Wire Color |
| - |
204A |
RH Sensor to RH Gauge |
Yellow |
| - |
210D |
Ground |
Black |
| X4 Right-Hand Tail Light Connector |
| Terminal |
Circuit |
Function |
Wire Color |
| A |
105C |
RH Turn/Warning Light |
Green |
| B |
101A |
RH Tail Lamp |
Brown |
| C |
100B |
Ground |
Black |
| D |
106 |
RH Flasher |
Violet |
|
| X5 Right-Hand Turn/Warning Light Connector |
| Terminal |
Circuit |
Function |
Wire Color |
| A |
105B |
Power |
Green |
| B |
|
Open |
|
| C |
|
Open |
|
| D |
100D |
Ground |
Black |
| X6 Left-Hand Tail Light Connector |
| Terminal |
Circuit |
Function |
Wire Color |
| A |
104C |
LH Turn/Warning Light |
Yellow |
| B |
101B |
LH Tail Lamp |
Brown |
| C |
100C |
Ground |
Black |
| D |
107 |
LH Flasher |
Orange |
| X7 Left-Hand Turn/Warning Light Connector |
| Terminal |
Circuit |
Function |
Wire Color |
| A |
104B |
Power |
Yellow |
| B |
|
Open |
|
| C |
|
Open |
|
| D |
100E |
Ground |
Black |
| X8 Left-Hand Bale Size Sensor Leads |
| Terminal |
Circuit |
Function |
Wire Color |
| - |
206A |
LH Sensor to LH Gauge |
Blue |
| - |
210C |
Ground |
Black |
|
|
|
AG,OUMX005,1349 -19-19MAR00-2/3
|
| X9 Lighting Enhancement Module Connectora |
| Terminal |
Circuit |
Function |
Wire Color |
| A |
100A |
Ground |
Black |
| B |
107 |
LH Flasher |
Orange |
| C |
104A |
LH Turn/Warning Light |
Yellow |
| D |
105A |
RH Turn/Warning Light |
Green |
| E |
106 |
RH Flasher |
Violet |
| aLater Machines Only |
|
| X10 Bale Size Switch Leads |
| Terminal |
Circuit |
Function |
Wire Color |
| - |
205A |
Power |
Green |
| - |
210B |
Ground |
Black |
|
|
|
AG,OUMX005,1349 -19-19MAR00-3/3
|
|