Adjusting Twine Arm Distance From Right Sidesheet-Hydraulic System (556)

1. If equipped with MEGATOOTH ™ pickup; Remove quick-lock pin (A) and rotate curtains (B) away from front frame.

IMPORTANT: Do not operate twine arms with pickup in raised position or damage to pickup teeth may occur.

2. Lower pickup.

3. Move twine arms all the way to right-hand side of baler using tractor hydraulics.

4. Stop tractor engine and remove key.

E39273

Left-hand Side Shown


A-Quick-Lock Pin
B-Curtains

MEGATOOTH is a trademark of Deere & Company

AG,OUMX005,1361 -19-19MAR00-1/2


5. While lightly holding twine arm to the rear to remove any end play, measure sidesheet to twine arm distance (A).

  • If equipped with non-adjustable twine guides, distance should be within specifications.

Specification

Twine Arm-to-Right Side Sheet (Non-Adjustable) (Hydraulic) -Distance 115-127 mm (4-1/2-5 in.)
  • If equipped with adjustable twine guides, distance should be within specifications.

Specification

Twine Arm-to-Right Side Sheet (Adjustable) (Hydraulic) -Distance 64-76 mm (2-1/2-3 in.)

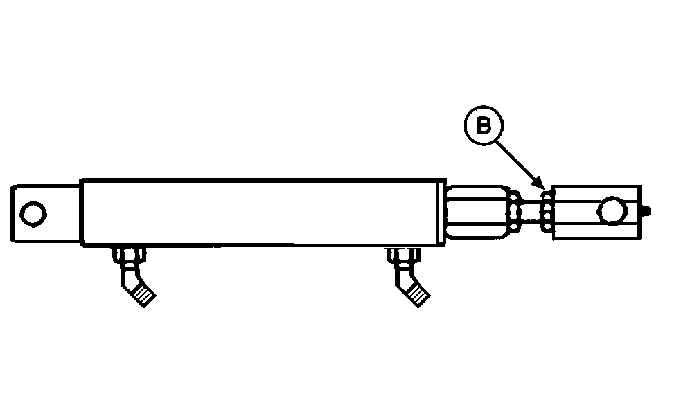
6. To adjust distance, loosen jam nut (B) and turn cylinder rod in end block.

  • Turn cylinder rod into end block to increase distance.
  • Turn cylinder rod out from end block to decrease distance.

7. Tighten jam nut (B).

8. If adjustment was made, adjust twine cutter tension. (See ADJUSTING TWINE CUTTER TENSION in this section.)

9. If equipped with a MEGATOOTH™ pickup; Rotate curtains toward front frame and secure with quick-lock pin.

E41802
E41801


A-Twine Arm Distance
B-Jam Nut

AG,OUMX005,1361 -19-19MAR00-2/2