Checking Net Wrap V-Belt Idler Arm Adjustment

If belt idler is out of adjustment, net knife may restrict flow of net wrap material causing net material to wrap on rubber rolls.

1. Open net wrap cover.

2. Turn tractor key to ON position. Do not start tractor engine.

AG,OUO1078,15 -19-11OCT99-1/3


3. Move and hold manual override switch to EXTEND or RETRACT position until belt is just tight (coils on spring [A] are slightly separated).

4. Turn tractor key to OFF position. Remove key. Disconnect net wrap controller power plug from tractor convenience outlet.


A-Spring Coils

E41735

AG,OUO1078,15 -19-11OCT99-2/3


causym CAUTION: Be careful when working around knife. It is sharp.

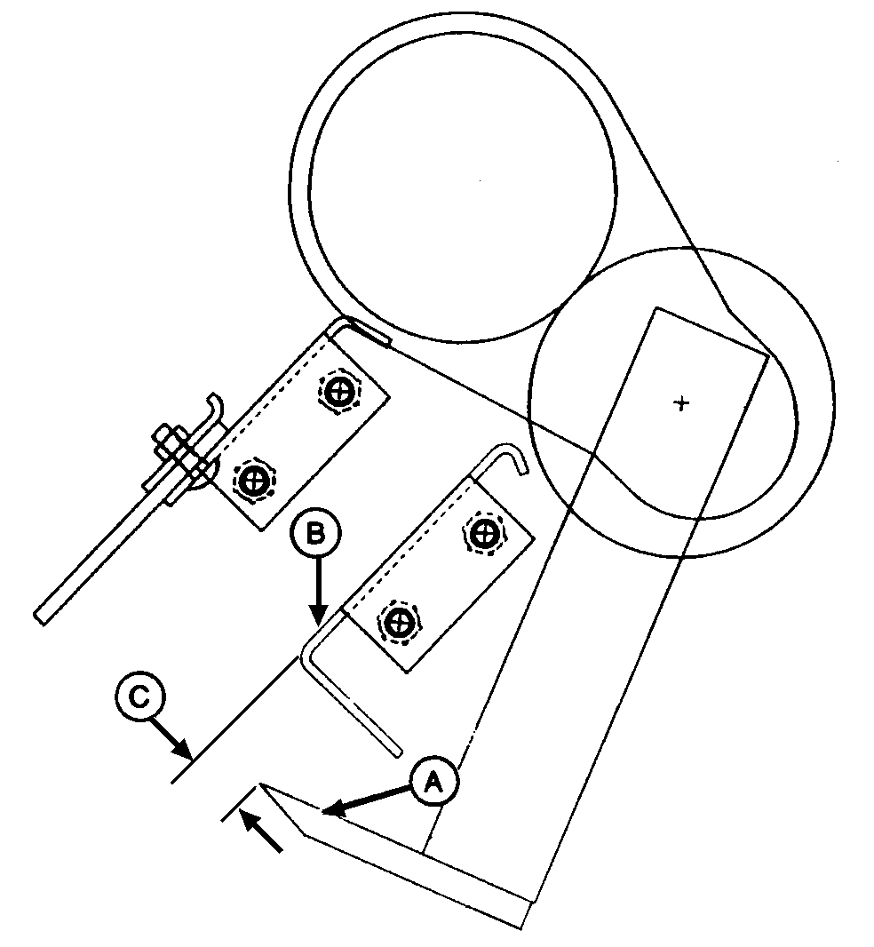
5. Cutting edge of knife (A) should be behind rear guide (B) according to specification distance (C).

Specification

Cutting Edge of Knife-to-Rear Guide -Distance (Minimum) 10 mm (0.394 in.)

6. If top edge of knife (A) is less than specification behind guide (B), the belt is too short. Adjust idler upward in idler arm slot (D) until dimension (C) is according to specification when spring coils begin to separate.

7. If dimension (C) cannot be obtained, replace belt. (See REMOVING AND INSTALL NET WRAP V-BELT in this section.)

8. Close net wrap cover.

IMPORTANT: After adjusting idler, press WRAP switch to return net knife arms to home position. If this procedure is not followed, net will be fed continuously during the next bale.

9. Connect controller power plug to tractor convenience outlet. Turn tractor key to ON position. Do not start tractor engine.

10. Momentarily press WRAP switch to cycle net actuator. Knife at home (forward) position.

11. Turn tractor key to OFF position. Remove key.


A-Knife
B-Guide
C-Dimension
D-Idler Arm Slot

TS268
E41736
E41737

AG,OUO1078,15 -19-11OCT99-3/3