Sustitución del perno rompible del volante

IMPORTANTE: Las agujas deben estar en la posición inicial. (Ver COLOCACION DE LAS AGUJAS EN LA POSICION INICIAL, en la sección Servicio.)

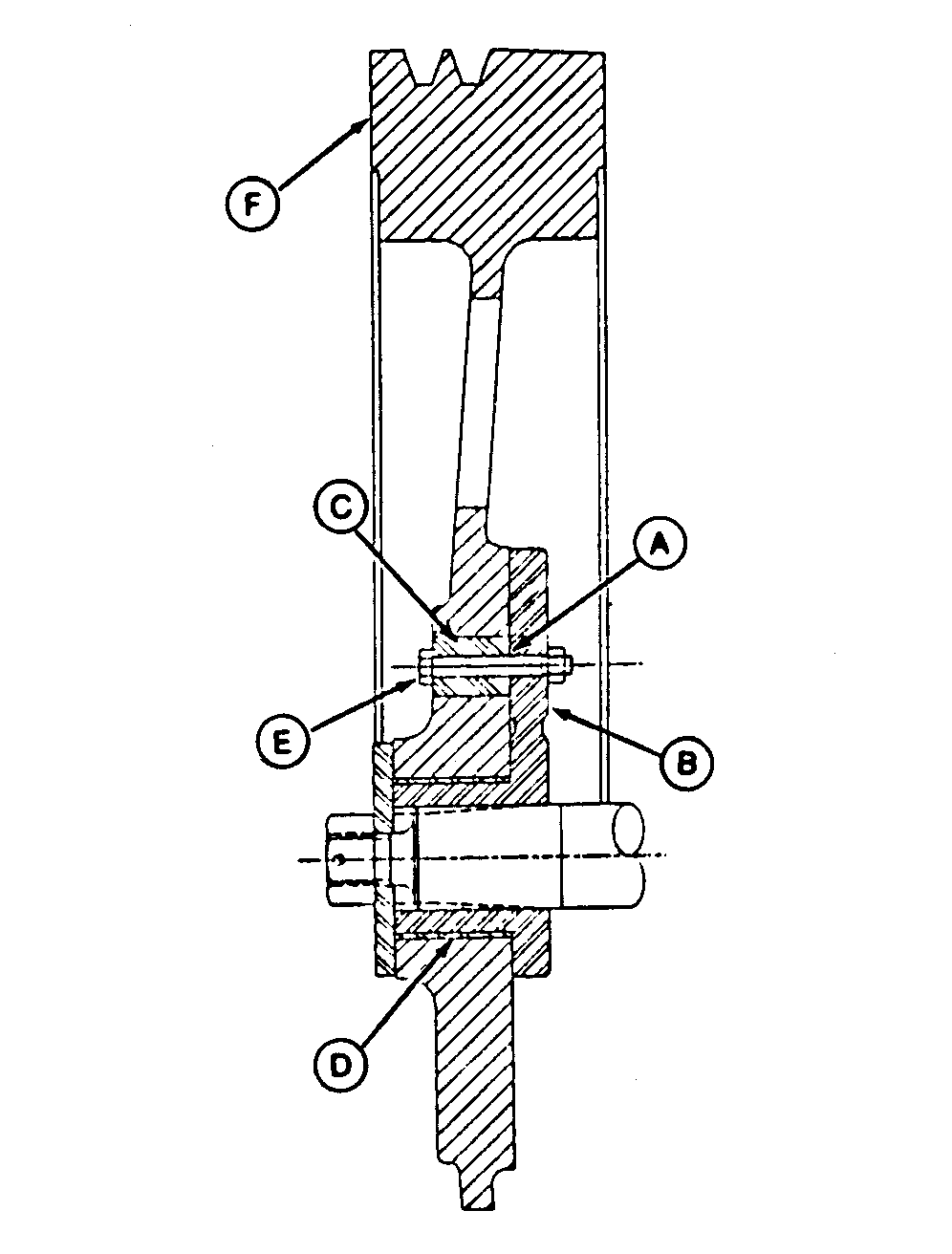
Si se rompe, consultar al concesionario John Deere para el repuesto correcto. No sustituir con un perno de mayor resistencia, de lo contrario se dañará la máquina.

1. Determinar la causa de la rotura y corregir:

  • El plano rompible (A) se puede separar.
  • El cubo (B) o manguito (C) del perno rompible se puede dañar alrededor del agujero del perno rompible (los bordes del agujero deben estar afilados).
  • El buje (D) puede estar desgastado.
  • Obstrucción en la cámara de fardos.
  • Agujas en la cámara de fardos.
  • Agujas o alimentador desincronizados.

IMPORTANTE: Eliminar el espacio del plano rompible moviendo el volante (F) hacia la derecha antes de instalar el perno rompible. La eliminación del espacio apretando el perno rompible inclinará el volante causando la falla prematura del perno rompible.

2. Instalar un perno rompible (E) nuevo especial. No reemplazar con un perno corriente. Apretar el perno rompible al valor especificado.

Valor especificado

Perno rompible -Par de apriete 11 N·m (97 lb-in.)

3. Si las agujas están en la cámara de fardos cuando el perno se rompe, devolver las agujas a la posición inicial a mano antes de poner en marcha la enfardadora.

IMPORTANTE: Lubricar en la grasera cuando se reemplace el perno rompible.

E36799
E33785


A-Plano rompible
B-Cubo del perno rompible
C-Manguito del perno rompible
D-Buje
E-Perno rompible
F-Volante

OUO6038,000007A -63-27SEP00-1/1