Sincronización de la enfardadora

La sincronización es controlada por la cadena impulsora principal, la cadena impulsora del alimentador y los engranajes impulsores de los anudadores. Después de intervenir en la máquina, probar todas las operaciones de sincronización antes de usar la enfardadora. Se debe hacer cada una de las revisiones o ajustes siguientes mientras se gira a mano la enfardadora para que cumpla un ciclo de atado completo.

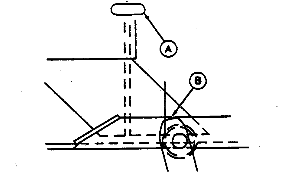
1. Colocar el pasador (A) de pivote en el agujero inferior de los dedos alimentadores (B).

2. Girar el volante a mano en sentido contrahorario hasta que la cara del émbolo (C) (en la carrera de compresión) quede centrada en la ranura delantera del alimentador.

La esquina izquierda del dedo alimentador delantero debe medir 24.1-29.2 cm (9-1/2-11-1/2 in.) (D) desde el extremo izquierdo de la ranura delantera del alimentador Si el dedo alimentador no se encuentra dentro de esta gama, desconectar la cadena impulsora (E) y colocar el dedo a 26.7 cm (10-1/2 in.) (medido horizontalmente) del borde izquierdo de la ranura del alimentador. Se puede utilizar un bloque para sujetar los dedos en esta posición.

IMPORTANTE: La utilización de la cadena impulsora principal para la sincronización también afectará la sincronización del émbolo con respecto a las agujas. Puede ser necesario volver a sincronizar las agujas como se describe en el paso 6.

3. Conectar la cadena impulsor del alimentador. Girar el volante en sentido horario, según sea necesario, para instalar la cadena con el lado impulsor bien apretado. Apretar el tensor contra la cadena aplicando presión con el pulgar.

4. Después de conectar la cadena, ubicar la cara del émbolo en el centro de la ranura. Si la dimensión del alimentador no se encuentra dentro de la gama (D), volver a sincronizar el alimentador utilizando la cadena impulsora principal en lugar de la cadena impulsora del alimentador, para lograr un ajuste más preciso.

5. Con el pasador de pivote del alimentador en cualquier posición, mover el émbolo a través de un ciclo de atado completo para asegurar que los dedos alimentadores (B) y el émbolo no se toquen.

E36802


A-Pasador de pivote
B-Dedos alimentadores
C-Embolo
D-Distancia, 24.1-29.2 cm (9-1/2-11-1/2 in.)
E-Cadena impulsora del alimentador

OUO6038,0000088 -63-28SEP00-1/4


6. Con las agujas en la posición inicial, accionar el brazo medidor de fardos. Girar el volante en sentido contrahorario hasta que la punta de la aguja más alta esté al ras con el borde superior del ranurador de fardos.

OUO6038,0000088 -63-28SEP00-2/4


7. La cara (C) del émbolo debe quedar en la ranura (A) en el costado de la cámara de fardos y la punta de las agujas (B) al ras con el borde superior del ranurador de fardos.

Es preferible ajustar el émbolo más cerca de la parte delantera de la ranura que la trasera.


A-Cara del émbolo en la ranura en el costado de la cámara de fardos
B-Aguja al ras con el borde superior del ranurador de fardos
C-Cara del émbolo
D-Aguja

E36803
E28830

Enfardadora de hilo

E28831

Enfardadora de alambre

OUO6038,0000088 -63-28SEP00-3/4


8. Si el émbolo no aparece en la ranura cuando las agujas están colocadas como se muestra en el paso 7, retirar el tren de engranajes (A).

9. Colocar las agujas (a mano) con la punta de la aguja más alta al ras con el borde superior del ranurador de fardos.

10. Girar el volante para colocar el émbolo en la ranura en la carrera de compresión. (Ver el paso 6.)

11. Girar el aro (B) del embrague (en sentido contrahorario) hasta que el aro toque la rueda (C) del fiador accionador.

IMPORTANTE: Se debe girar el tren de engranajes para encontrar la posición donde los dientes de engranaje cónico y los dientes de engranaje recto se engranen con los engranajes correspondientes. Si no, la máquina estará desincronizada. No es necesario sincronizar el engranaje impulsor (D) del sinfín y se puede girar para que engrane con el tren de engranajes.

12. Instalar el tren de engranajes en el eje.

13. Para comprobar la sincronización, hacer retroceder el émbolo y sacar las agujas de la cámara de fardos (a mano). Girar el volante lentamente hacia adelante hasta que la punta de la aguja más alta esté al ras con el borde superior del ranurador de la cámara de fardos. Revisar la posición del émbolo en la ranura.

14. Si las agujas todavía están desincronizadas, repetir los pasos 8 al 12.

E36876


A-Tren de engranajes
B-Aro de embrague
C-Rueda del fiador accionador
D-Engranaje impulsor del sinfín

OUO6038,0000088 -63-28SEP00-4/4