Ajuste del émbolo

IMPORTANTE: El ajuste incorrecto del émbolo y/o cuchilla fija puede causar el bloqueo de las cuchillas o la rotura de los pernos rompibles.

Antes de ajustar el émbolo, asegurarse que la cuchilla fija esté ajustada según las especificaciones. (Ver AJUSTE DE LA CUCHILLA FIJA, en esta sección.)

Para impedir el atascamiento del émbolo, asegurarse de soltar las rasquetas antes de ajustar el émbolo.

1. Girar el volante para mover el émbolo a la parte delantera de la enfardadora. Inspeccionar la guía lateral inferior derecha (A) y la guía inferior derecha (B) de la cámara de fardos en busca de desgaste. Cambiar si hay desgaste.

2. Colocar suplementos en la guía (A) inferior derecha de la cámara de fardos hasta que la superficie de desgaste esté recta dentro de 0.76 mm (0.030 in.) a todo el largo de la guía.

E38474


A-Guía inferior derecha de la cámara de fardos
B-Guía inferior derecha de la cámara de fardos

OUO6038,00000A0 -63-28SEP00-1/18


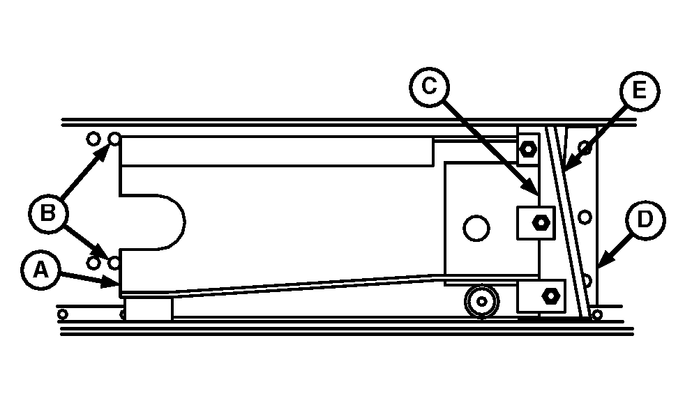
3. Aflojar las rasquetas traseras (A) y (B). Soltar los pernos (C) para soltar la rasqueta delantera.


A-Rasqueta trasera izquierda
B-Rasqueta trasera derecha
C-Pernos

E48981

Rasquetas traseras

E48982

Rasqueta delantera

OUO6038,00000A0 -63-28SEP00-2/18


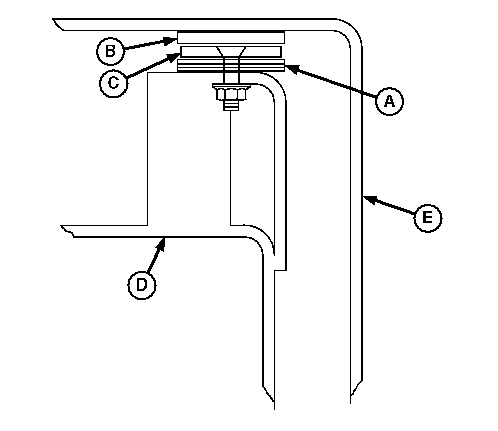
4. Girar el volante hasta que el borde delantero (A) del émbolo esté alineado con el borde delantero de la cabeza (B) del perno de cabeza redonda. El punto de tijera (E) de la cuchilla (C) del émbolo y la cuchilla fija (D) estará en la posición inferior, como se ilustra.

5. Empujar y retener el émbolo a la derecha de la cámara de fardos contra la placa guía inferior derecha (F) de la cámara de fardos.

6. Medir el espacio libre (G) entre la cuchilla del émbolo y la cuchilla fija. El espacio libre debe hallarse dentro del margen especificado.

Valor especificado

Cuchilla de émbolo a cuchilla fija -Espacio libre 0.75-1.5 mm (0.030-0.060 in.)

  • Si el espacio libre no está dentro de lo especificado, revisar si la cuchilla fija está ajustada según las especificaciones. (Ver AJUSTE DE LA CUCHILLA FIJA, en esta sección.)
  • Si el espacio libre de la cuchilla fija está dentro de lo especificado, pero el espacio libre (G) mide menos de 0.75 mm (0.030 in.), el émbolo puede estar desgastado en el punto donde la cuchilla hace contacto con la placa guía inferior derecha de la cámara de fardos. Reparar o cambiar la cuchilla del émbolo según sea necesario.


A-Borde delantero del émbolo
B-Perno de cabeza redonda delantero (ubicado en el lado delantero derecho de la cámara de fardos)
C-Cuchilla del émbolo
D-Cuchilla fija
E-Punto de tijera (posición inferior)
F-Placa guía inferior derecha
G-Espacio libre

E38743

Posición de tijera inferior de las cuchillas

E38751

OUO6038,00000A0 -63-28SEP00-3/18


7. Girar el volante hasta que el borde delantero (A) del émbolo esté alineado con el borde trasero de la cabeza (B) del perno de cabeza redonda. El punto de tijera (E) de la cuchilla (C) del émbolo y la cuchilla fija (D) estará en la posición superior, como se ilustra.

NOTA: El punto de tijera de las cuchillas se muestra más abajo en la fotografía para claridad de la ilustración solamente.

8. Medir el espacio libre (F) entre la cuchilla del émbolo y la cuchilla fija. El espacio libre debe hallarse dentro del margen especificado.

Valor especificado

Embolo a cuchilla fija -Espacio libre 1.0-3.28 mm (0.040-0.130 in.)


A-Borde delantero del émbolo
B-Perno de cabeza redonda trasero (ubicado en el lado delantero derecho de la cámara de fardos)
C-Cuchilla del émbolo
D-Cuchilla fija
E-Punto de tijera (posición superior)
F-Espacio libre

E38744

Posición de tijera superior de las cuchillas

E38752

OUO6038,00000A0 -63-28SEP00-4/18


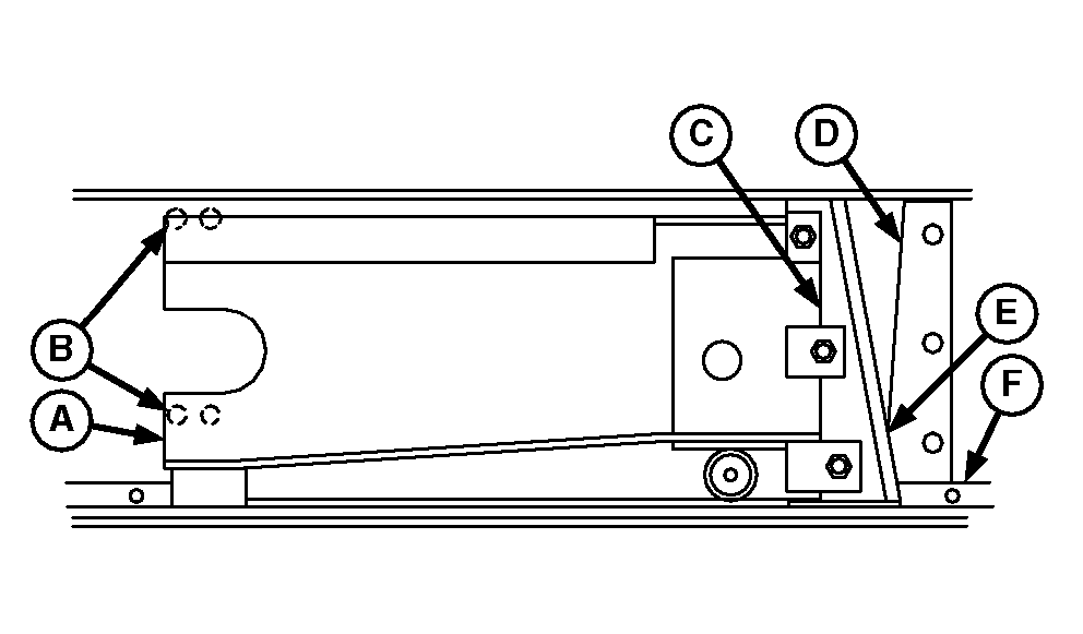
9. Si el espacio libre de la cuchilla en la posición de tijera superior no está dentro de lo especificado, girar el volante hasta que el rodillo trasero izquierdo del émbolo quede alineado con el agujero de acceso en el lado izquierdo de la cámara de fardos.

10. Aflojar la contratuerca (A), luego:

  • Para disminuir el espacio libre de la cuchilla, aflojar la tuerca superior (C) y apretar la tuerca inferior (D).
  • Para aumentar el espacio libre de la cuchilla, aflojar la tuerca inferior (D) y apretar la tuerca superior (C).

11. Volver a medir el espacio libre de la cuchilla en la posición de tijera superior. Si está dentro de los especificado, apretar las tuercas de todos los rodillos.

12. Girar el volante hasta que el émbolo esté en la posición trasera extrema.

13. Empujar y retener el émbolo hacia la izquierda contra la guía de angulación izquierda de la cámara de fardos.

E18461
E18456


A-Contratuerca del rodillo
B-Agujero de acceso en la cámara de fardos
C-Tuerca de ajuste superior
D-Tuerca de ajuste inferior

OUO6038,00000A0 -63-28SEP00-5/18


14. Medir el espacio libre (C) entre la cuchilla (A) del émbolo y la placa guía inferior derecha (B). El espacio libre debe hallarse dentro del margen especificado. Si no está dentro de lo especificado, ajustar la guía de angulación izquierda.

Valor especificado

Cuchilla de émbolo a placa guía inferior derecha -Espacio libre 0.13-0.38 mm (0.005-0.015 in.)


A-Cuchilla
B-Placa
C-Espacio libre

E19469

OUO6038,00000A0 -63-28SEP00-6/18


IMPORTANTE: El ajuste incorrecto puede causar el bloqueo de las cuchillas o la rotura de los pernos rompibles.

No usar las tuercas y pernos de anclaje (B) para mover la guía de angulación izquierda (C). Los pernos de anclaje y la guía se pueden atascar y deformar. Usar las tuercas y pernos de anclaje únicamente para retener el espacio libre después de ajustar la guía.

NOTA: Se usa un total de seis pernos de arado para sujetar la guía de angulación inferior izquierda (C). Tres de los pernos de arado y tuercas (A) se usan con los pernos de anclaje. Los otros tres pernos de arado, arandelas y tuercas (A) se sujetan directamente a la cámara de fardos y bastidor de la máquina.

15. Para ajustar la guía de angulación izquierda, aflojar las seis tuercas (A) y las seis tuercas de anclaje (B).

16. Palanquear el émbolo hacia la extrema derecha de la cámara de fardos.

17. Mover la guía de angulación inferior izquierda (C) hacia la derecha hasta que la guía toque el rodillo lateral (D) del émbolo.

18. Apretar las tuercas de anclaje traseras extremas (B) y la tuerca trasera extrema (A) de perno de arado. No apretar las otras tuercas de anclaje y pernos de arado por ahora.

E36428AE
E24762


A-Tuercas y pernos de arado (6 c/u)
B-Tuercas de pernos de anclaje (6)
C-Guía de angulación izquierda de la cámara de fardos
D-Rodillo lateral del émbolo

OUO6038,00000A0 -63-28SEP00-7/18


IMPORTANTE: Para impedir que el émbolo golpee, este ajuste debe hacerse lo más apretado posible sin causar atascamiento.

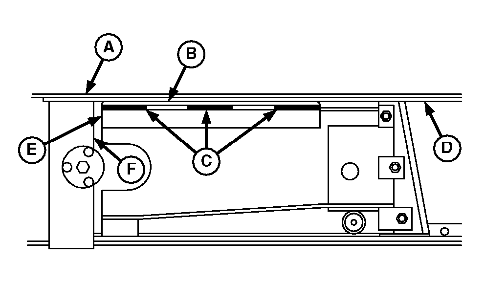
19. Con el émbolo en la posición trasera extrema, medir el espacio libre (B) entre el bloque de desgaste inferior derecho (A) del émbolo y la guía de angulación (D). El espacio libre debe estar dentro del valor especificado y el émbolo no debe atascarse.

Valor especificado

Bloque de desgaste de émbolo a guía de angulación -Espacio libre 0.0-1.27 mm (0.0-0.050 in.)

20. Para ajustar el espacio libre, soltar los cinco pernos de cabeza redonda (C) y mover la guía de angulación hasta obtener el espacio libre correcto.

21. Apretar el perno de cabeza redonda trasero (C). No apretar los otros pernos de cabeza redonda de la guía de angulación por ahora.

22. Mover el émbolo hacia la posición delantera de la carrera y medir nuevamente el espacio libre (B). Ajustar la guía de angulación delantera (D) según sea necesario y luego apretar todos los pernos de cabeza redonda (C). El émbolo debe moverse libremente sin atascarse en toda su carrera.

E38642


A-Bloque de desgaste inferior derecho del émbolo
B-Espacio libre
C-Pernos de cabeza redonda (5)
D-Guía de angulación delantera de la cámara de fardos

OUO6038,00000A0 -63-28SEP00-8/18


23. Con el émbolo en la posición delantera de la carrera, empujar el émbolo hacia la izquierda contra la guía de angulación izquierda de la cámara de fardos. El espacio libre entre la cuchilla (A) del émbolo y la placa guía derecha (B) no debe exceder el valor especificado.

Valor especificado

Cuchilla de émbolo a placa guía derecha -Espacio libre 1.52 mm (0.060 in.)


A-Cuchilla
B-Placa

E19470

OUO6038,00000A0 -63-28SEP00-9/18


24. Empujar la guía de angulación izquierda (C) bien apretada contra el rodillo lateral del émbolo. Apretar todas las tuercas de los pernos de anclaje (B) y luego medir nuevamente el espacio libre entre la cuchilla del émbolo y la placa guía derecha.

25. Si el espacio libre está dentro de lo especificado y el émbolo no se atasca, apretar todas las tuercas (A) de los pernos de arado.


A-Tuercas
B-Tuercas
C-Guía

E36428AE

OUO6038,00000A0 -63-28SEP00-10/18


IMPORTANTE: Asegurarse que el espacio libre de la cuchilla y el movimiento lateral del émbolo estén dentro de lo especificado antes de ajustar las placas de desgaste del émbolo y las placas guía de extensión de la cámara de fardos.

26. Mover el émbolo hacia adelante hasta que el borde delantero del émbolo (E) esté aproximadamente alineado con el borde trasero del soporte (F).

IMPORTANTE: El espacio libre de la placa de desgaste superior derecha del émbolo no debe exceder el valor especificado; de lo contrario el émbolo se golpeará.

Asegurarse que el émbolo no se atasque mientras se lo mueve un ciclo completo. Un émbolo que se atasca puede causar la rotura de los pernos rompibles.

NOTA: Se recomienda que el espacio libre de la placa de desgaste superior derecha del émbolo sea ajustado inicialmente a aproximadamente 0.8 mm (0.030 in.). El espacio libre puede estrecharse un poco, pero tener en mente que mientras más estrecho tanto mayor la posibilidad de que el émbolo se atasque en algún punto de su carrera.

27. Medir el espacio libre entre la placa de desgaste superior derecha del émbolo (B) y la placa guía superior derecha (D). La medida debe tomarse en el punto donde está ubicado cada uno de los tres conjuntos de suplementos (C). El espacio libre en cada lugar debe estar dentro del valor especificado.

Valor especificado

Placa de desgaste a placa guía -Espacio libre 0.0-1.02 mm (0.0-0.040 in.)

E38759
E38762


A-Cámara de fardos
B-Placa de desgaste superior derecha del émbolo
C-Ubicación del conjunto de suplementos
D-Placa guía superior derecha de la cámara de fardos
E-Borde delantero del émbolo
F-Escuadra del brazo impulsor del recolector

OUO6038,00000A0 -63-28SEP00-11/18


IMPORTANTE: No es necesario tener la misma cantidad de suplementos en las tres ubicaciones (A) de los conjuntos, pero NO debe haber más suplementos en el conjunto central que en los de los extremos.

NOTA: Los conjuntos de suplementos (A) se insertan entre el bastidor del émbolo y la placa de desgaste superior derecha (B) del émbolo.

28. Si el espacio libre no está dentro de lo especificado, aflojar los pernos de arado de la placa de desgaste superior derecha (B) del émbolo. Añadir o quitar suplementos según sea necesario en las ubicaciones (A) de los conjuntos de suplementos y luego apretar los pernos de arado. Mantener el mismo espacio libre a todo el largo de la placa de desgaste superior derecha del émbolo.

E48983


A-Ubicación del conjunto de suplementos
B-Placa de desgaste superior derecha del émbolo

OUO6038,00000A0 -63-28SEP00-12/18


IMPORTANTE: El ajuste incorrecto de las placas de desgaste del émbolo puede hacer que éste golpee (demasiado espacio libre) o que se atasque en la cámara de fardos (muy poco espacio libre) causando la rotura de los pernos rompibles.

Cuando el émbolo está en la posición delantera, el espacio libre entre la placa de desgaste superior izquierda del émbolo y la placa guía superior izquierda de la cámara de fardos no debe sobrepasar de 1.5 mm (0.060 in.) en el punto más cercano entre la placa de desgaste y la placa guía.

NOTA: Se recomienda que el espacio libre de la placa de desgaste superior izquierda del émbolo sea ajustado inicialmente a aproximadamente 0.8 mm (0.030 in.). El espacio libre puede estrecharse un poco, pero tener en mente que mientras más estrecho tanto mayor la posibilidad de que el émbolo se atasque en algún punto de su carrera.

La medida debe tomarse en el punto más cercano entre la placa de desgaste y la placa guía.

29. Con el émbolo en la posición delantera como se describe en el paso 26, medir el espacio libre entre la placa de desgaste superior izquierda (C) del émbolo y la placa guía superior izquierda (B) de la cámara de fardos utilizando un calibrador (F). El espacio libre debe estar dentro del valor especificado y el émbolo no debe atascarse.

Valor especificado

Placa de desgaste a placa guía -Espacio libre 0.0-1.5 mm (0.0-0.060 in.)

30. Soltar las dos tuercas de la placa de desgaste del émbolo para añadir o quitar suplementos ranurados (A) según sea necesario.

E38755
E38764


A-Suplementos ranurados de 0.61, 0.91 ó 1.52 mm (0.024, 0.036 ó 0.060 in.)
B-Placa guía superior izquierda de la cámara de fardos
C-Placa de desgaste superior izquierda del émbolo
D-Bastidor del émbolo
E-Cámara de fardos
F-Calibrador

OUO6038,00000A0 -63-28SEP00-13/18


IMPORTANTE: El ajuste incorrecto de las placas de desgaste del émbolo puede hacer que éste golpee (demasiado espacio libre) o que se atasque en la cámara de fardos (muy poco espacio libre) causando la rotura de los pernos rompibles.

Cuando el émbolo está en la posición de tijera superior, el espacio libre entre la placa de desgaste superior izquierda del émbolo y la placa guía superior izquierda de la cámara de fardos no debe sobrepasar de 1.5 mm (0.030 in.) en el punto más cercano entre la placa de desgaste y la placa guía.

31. Mover el émbolo hacia atrás hasta que las cuchillas estén en la posición de tijera superior como se describe en el paso 7. Medir el espacio libre entre la placa de desgaste superior izquierda (C) del émbolo y la placa guía superior izquierda (B) de la cámara de fardos utilizando un calibrador (F). El espacio libre debe estar dentro del valor especificado y el émbolo no debe atascarse.

Valor especificado

Placa de desgaste a placa guía -Espacio libre 0.0-0.8 mm (0.0-0.030 in.)

32. Si el espacio libre excede las especificaciones o el émbolo se atasca, repetir los pasos 29 al 31 hasta que el espacio libre para la placa de desgaste superior izquierda del émbolo esté dentro de lo especificado cuando el émbolo esté en la posición de tijera superior y en la posición delantera. El émbolo no debe atascarse en ningún momento.

E38755
E38765


A-Suplementos ranurados de 0.61, 0.91 ó 1.52 mm (0.024, 0.036 ó 0.060 in.)
B-Placa guía superior izquierda de la cámara de fardos
C-Placa de desgaste superior izquierda del émbolo
D-Bastidor del émbolo
E-Cámara de fardos
F-Calibrador

OUO6038,00000A0 -63-28SEP00-14/18


E38760


A-Placa guía superior derecha
B-Cámara de fardos
C-Suplemento ranurado (según se requiera)


D-Placa guía superior derecha de extensión
E-Suplemento ranurado (según se requiera)


F-Placa guía superior derecha de extensión
G-Placa de desgaste superior derecha del émbolo


H-Tuercas (2)
I-Tuercas (2)

IMPORTANTE: El ajuste incorrecto de las placas guía superiores derechas de extensión de la cámara de fardos (D y F) puede hacer que el émbolo golpee (demasiado espacio libre) o que se atasque en la cámara de fardos (muy poco espacio libre) causando la rotura de los pernos rompibles.

Cuando el émbolo está en la posición de tijera superior, el espacio entre la placa de desgaste superior derecha del émbolo y las placas guía superiores derechas de extensión de la cámara de fardos no debe sobrepasar de 1.5 mm (0.030 in.).

33. Con el émbolo en la posición de tijera superior, medir el espacio libre entre la placa de desgaste superior derecha (G) del émbolo y las placas guía superiores derechas de extensión de la cámara de fardos (D y F). El espacio libre debe estar dentro del valor especificado en el punto más cercano entre la placa de desgaste y las placas guías sin que el émbolo se atasque.

Valor especificado

Placa de desgaste superior derecha a placas guía superiores derechas de extensión -Espacio libre 0.0-0.8 mm (0.0-0.030 in.)

OUO6038,00000A0 -63-28SEP00-15/18


34. Soltar las tuercas (D) para añadir o quitar suplementos ranurados (B).

35. Soltar las tuercas (C) para añadir o quitar los suplementos ranurados (A).


A-Suplemento ranurado (según se requiera)
B-Suplemento ranurado (según se requiera)
C-Tuercas (2)
D-Tuercas (2)

E48984
E48985

OUO6038,00000A0 -63-28SEP00-16/18


IMPORTANTE: Las rasquetas no deben levantar los rodillos del émbolo fuera de las placas guía de la cámara de fardos.

36. Ajustar la rasqueta trasera izquierda (B):

  • El espacio libre (C) entre la rasqueta y la guía inferior izquierda de la cámara de fardos debe estar dentro del valor especificado.

Valor especificado

Rasqueta a guía inferior izquierda de la cámara de fardos -Separación (C) 0.0-0.25 mm (0.0-0.040 in.)

    NOTA: Se recomienda que el espacio libre de la rasqueta sea ajustado más cerca al límite inferior de la gama especificada.

  • El espacio libre (A) entre la rasqueta y la cámara de fardos izquierda debe estar dentro de lo especificado en toda la carrera del émbolo.

Valor especificado

Rasqueta a cámara de fardos izquierda -Espacio libre (A) 1.52-4.57 mm (0.060-0.180 in.)

37. Ajustar la rasqueta trasera derecha (D). El espacio libre (E) entre la rasqueta y la guía inferior derecha de la cámara de fardos debe estar dentro del valor especificado.

Valor especificado

Rasqueta a guía inferior derecha de la cámara de fardos -Espacio libre (E) 0.0-0.25 mm (0.0-0.040 in.)

E38742


A-Espacio libre entre rasqueta trasera izquierda y cámara de fardos izquierda
B-Rasqueta trasera izquierda
C-Espacio libre entre rasqueta trasera izquierda y guía inferior izquierda de la cámara de fardos
D-Rasqueta trasera derecha
E-Espacio libre entre rasqueta trasera derecha y placa guía derecha de la cámara de fardos

OUO6038,00000A0 -63-28SEP00-17/18


38. Mover el émbolo hasta que los pernos (C) de la rasqueta delantera puedan verse en el agujero de acceso de la cámara de fardos. Medir el espacio libre entre la rasqueta y la guía de angulación izquierda de la cámara de fardos. El espacio libre debe hallarse dentro del margen especificado.

Valor especificado

Rasqueta a guía de angulación izquierda de la cámara de fardos -Espacio libre 0.0-0.25 mm (0.0-0.040 in.)

39. Después de terminados los ajustes del émbolo, moverlo a mano un ciclo completo. El émbolo debe moverse fácilmente sin atascarse durante todo el ciclo.

40. Si el émbolo se atasca, identificar el problema y después hacer los ajustes necesarios.

IMPORTANTE: Tener en mente que al ajustar un área se puede afectar a otra.

E18466


A-Rasqueta delantera
B-Guía de angulación izquierda de la cámara de fardos
C-Pernos (2)

OUO6038,00000A0 -63-28SEP00-18/18