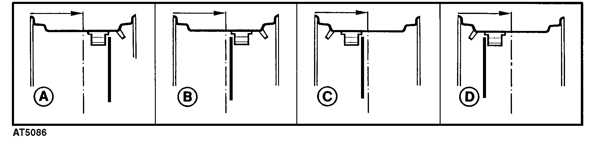
Ajuste del ancho de vía delantero

AT5086

El ancho de vía delantero puede variarse desplazando o invirtiendo las llantas.

IMPORTANTE: Las tuercas deben instalarse en la cara exterior de la rueda.

Adicionalmente, la rueda completa puede ser instalada en el lado opuesto del tractor. La flecha en el flanco del neumático debe señalar el sentido de avance.

NOTA: La ilustración muestra la rueda delantera derecha. Los anchos de vía se miden en el punto más bajo de las ruedas.

  Posiciones de las llantas y de los discos de rueda
Neumáticos A B C D
6.00-R16 y 6.50-16* - 976 mm
(38.43 in.)
1044 mm
(41.1 in.)
1150 mm
(45.27 in.)
6.50-R16** - 1009 mm
(39.72 in.)
1011 mm
(39.8 in.)
1101 mm
(43.35 in.)
200/70-R16 - - 1046 mm
(41.18 in.)
1152 mm
(45.35 in.)
7.50-R16 - 975 mm
(38.38 in.)
1043 mm
(41.0 in.)
1149 mm
(45.24 in.)
8.25-R16 - 1006 mm
(39.6 in.)
1008 mm
(39.68 in.)
1098 mm
(43.23 in.)
10.0/75R15.3 - 983 mm
(38.7 in.)
1035 mm
(40.75 in.)
1141 mm
(44.92 in.)

 

NOTA: Con este tamaño de neumático, el tipo de llanta varía dependiendo del tamaño de los neumáticos traseros.

* 6.50-16 neumáticos para combinación con neumático trasero 11.2-R28

**6.50-16 neumáticos para combinación con neumático trasero 12.4-R24

OULXBER,00003A0 -63-03NOV00-1/1