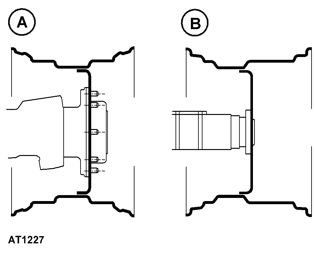
Front and Rear Wheel Treads for Trelleborg Tires

Trelleborg tires must only be used with special rims and installed only in the positions shown opposite (A = front wheels; B = rear wheels).

The following tread widths result from the rim positions shown:

550/45-22.5 404TL front tires...1500 mm (59 in.)
23.1-26 409TL rear tires...1524 mm (60 in.)

 


A-Front wheel position
B-Rear wheel position

AT1227

AT,5SOM,252 -19-01NOV98-1/1