Ajuste del ancho de vía delantero (tractores con tracción delantera)

AT1152
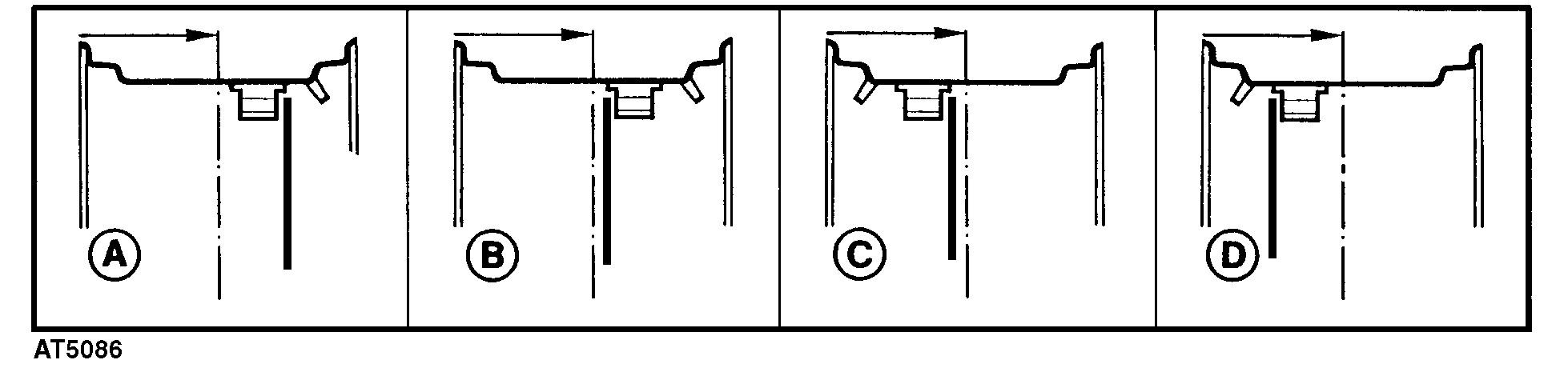
Tractores tipo F

El ancho de vía delantero puede variarse cambiando o invirtiendo las llantas o invirtiendo los discos de las ruedas.

IMPORTANTE: Enrosque las tuercas siempre desde el lado de la llanta.

Además, la rueda completa puede ser instalada en el lado opuesto del tractor. La flecha en el flanco del neumático debe señalar el sentido de avance.

NOTA: La ilustración muestra la rueda delantera derecha. Los anchos de vía se miden en el punto más bajo de los neumáticos.

Si se retiraron las ruedas delanteras para ajustar el ancho de vía, apriete las tuercas de fijación de la rueda delantera al par especificado, véase "Apriete de tornillos de rueda" en la sección 65.

  Posiciones de llantas y discos de rueda (tractores tipo F)
Neumáticos A B C D
7.50-16
8.25-16
1076 mm
(42.4")
1137 mm
(44.8")
1189 mm
(46.8")
1250 mm
(49.2")
7.50-18 1049 mm
(41.3")
1139 mm
(44.8")
1187 mm
(46.7")
1277 mm
(50.2")
10.0/75-15.3 1031 mm
(40.6")
1137 mm
(44.8")
1189 mm
(46.8")
1295 mm
(51.0")
250/80 R16 1075 mm
(42.3")
1161 mm
(45.7")
1165 mm
(45.9")
1251 mm
(49.3")
250/85 R18
280/70 R18
1051 mm
(41.4")
1141 mm
(44.9")
1185 mm
(46.7")
1275 mm
(50.2")
260/70 R20 1051 mm
(41.4")
1145 mm
(45.1")
1185 mm
(46.7")
1250 mm
(49.2")

 

NR25796,0001216 -63-25FEB08-1/2


AT5086
Tractores tipo V

El ancho de vía delantero puede variarse cambiando o invirtiendo las llantas o invirtiendo los discos de las ruedas.

IMPORTANTE: Enrosque las tuercas siempre desde el lado de la llanta.

Además, la rueda completa puede ser instalada en el lado opuesto del tractor. La flecha en el flanco del neumático debe señalar el sentido de avance.

NOTA: La ilustración muestra la rueda delantera derecha. Los anchos de vía se miden en el punto más bajo de los neumáticos.

Si se retiraron las ruedas delanteras para ajustar el ancho de vía, apriete las tuercas de fijación de la rueda delantera al par especificado, véase "Apriete de tornillos de rueda" en la sección 65.

  Posiciones de llantas y discos de rueda (tractores tipo V)
Neumáticos A B C D
6.00-16 900 mm
(35.4")
1006 mm
(39.7")
1050 mm
(41.4")
1156 mm
(45.6")
6.50-16* 937 mm
(36.9")
1027 mm
(40.5")
1029 mm
(40.5")
1119 mm
(44.1")
7.50-16** 941 mm
(37.1")
1002 mm
(39.5")
1054 mm
(41.5")
1115 mm
(43.9")
8.25-16 907 mm
(35.8")
997 mm
(39.2")
999 mm
(39.3")
1089 mm
(42.9")
10.0/75-15.3 896 mm
(35.3")
1002 mm
(39.5")
1054 mm
(41.5")
1160 mm
(45.7")
200/70 R16 952 mm
(37.5")
1018 mm
(40.1")
1038 mm
(40.9")
1104 mm
(43.5")
240/70 R16 940 mm
(37.0")
1026 mm
(40.4")
1030 mm
(40.5")
1116 mm
(43.9")

 

NOTA: Con este tamaño de neumático, el tipo de llanta varía dependiendo del tamaño de los neumáticos traseros.

* neumáticos 6.50 R16 para combinación con neumático trasero 11.2-R28

* neumáticos 7.50 R16 para combinación con neumático trasero 12.4-R28

NR25796,0001216 -63-25FEB08-2/2