Front-Hitch
Front-hitch, controls:

AGCPTJD0657-UN-29OCT14

AGCPTJD0658-UN-29OCT14

AGCPTJD0659-UN-29OCT14

AGCPTJD0660-UN-29OCT14
The front-hitch is operated by control lever (B) which controls
the SCV at position II
Position of control lever (B)
-
(a) front-hitch upward
-
(b) front-hitch downward
-
(c) neutral, the front-hitch is locked and cannot move
-
(d) floating position
Front-hitch, SCV connection:
|
SCV type:
|
SCV position:
|
|
I
|
II
|
III
|
IV
|
|
Mechanical
|
-
|
X
|
-
|
-
|
|
Electro-Hydraulic
|
X
|
-
|
-
|
-
|
|
SCV type:
|
Front quick coupler position:
|
|
I
|
II
|
III
|
IV
|
|
Mechanical
|
-
|
NP*
|
-
|
-
|
|
Electro-Hydraulic
|
X
|
-
|
-
|
-
|
|
* SCV II - The hydraulic connections are linked directly on
the rear SCV’s
|
Front-hitch, draft links

AGCPTJD0661-UN-29OCT14

AGCPDJD0040-UN-13JAN14

AGCPDJD0041-UN-13JAN14

AGCPDJD0042-UN-13JAN14
The photo shows the draft links in transport position. To
change from transport position (A) to operating position (B) proceeded
as follows on both draft links.
Remove quick-lock pin, then remove pin (1) and lower the lift
arm until the bore is aligned with bore for position (C) or (D).
-
Insert pin (1) in bore (C) to lock lift arm in operating position
-
Insert pin (1) in bore (C) to allow float in operating position
CAUTION: Make sure that pins on both lift arms are secured with
quick-lock pins all times.
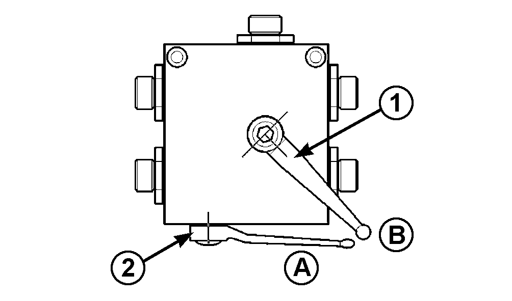
Front-hitch, shut-off valve

AGCPTJD0698-UN-29OCT14
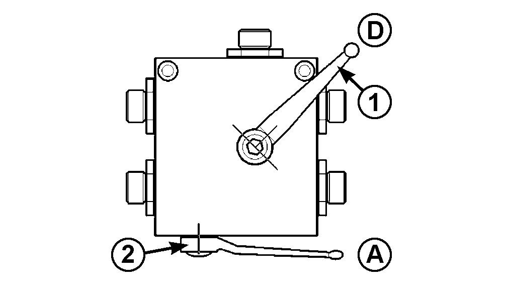
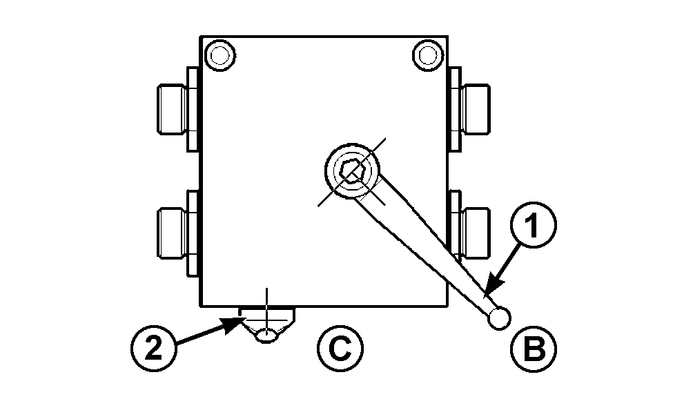
Lever (1) - double action/single action
Lever (2) - lock/unlock

AGCPTJD0662-UN-29OCT14
Setting for single action operation:
Lever (1) in position (B), lever (2) in position (A).

AGCPTJD0663-UN-29OCT14
Setting for double action operation:
Lever (1) in position (D), lever (2) in position (A).

AGCPTJD0664-UN-29OCT14
Operation of valve must be inhibited when driving on roads
always when the front-hitch is not in use.
Setting to lock the valve:
Lever (2) in position (C), lever (1) in position (B).
CAUTION: : If SCV II is equipped with additional couplers towards
the rear (for operation of rear implements), the shut-off valve must
be locked before rear implements are operated using SCV II.
|
|
OULXBER,0002505-19-20151016
|
|