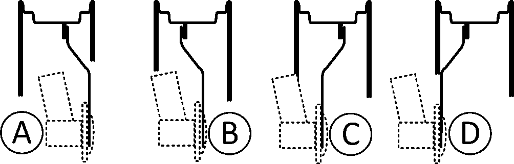
5GV - Tread Adjustment
5GV Front-Wheel Tread Adjustment
Front wheel tread can be adjusted by re-positioning or reversing
the rims or by reversing the wheel disks. In addition, the complete
wheel can be installed on the other side of the tractor. The arrow
on side wall of tire must point in the direction of forward travel.
If front wheels are removed to adjust tread, tighten front wheel attaching
nuts to specified torque. See “Tighten Wheel Bolts” in
this Section.
IMPORTANT: Always mount nuts on rim side.
NOTE: The illustration shows the right-hand front wheel. Tread
widths are measured at the lowest point of the tires.

LX203965-UN-26AUG13
|
5GV Front-Wheel Tread Settings (with Front-Wheel Drive)
|
|
Front-Tires
|
Adjustable Rim
|
Unit
|
Position of Rim and Wheel Disks
|
|
A
|
B
|
C
|
D
|
E
|
F
|
G
|
H
|
|
6.50-16
|
4.50Ex16"
|
mm
|
838
|
954
|
878
|
994
|
876
|
916
|
916
|
956
|
|
in.
|
33
|
38
|
35
|
39
|
34
|
36
|
36
|
38
|
|
7.50 R16
|
5.50Fx16"
|
mm
|
x
|
940
|
888
|
964
|
x
|
x
|
x
|
x
|
|
in.
|
x
|
37
|
35
|
38
|
x
|
x
|
x
|
x
|
|
240/70 R16
|
W8x16"
|
mm
|
x
|
x
|
972
|
1048
|
x
|
x
|
x
|
x
|
|
in.
|
x
|
x
|
38
|
41
|
x
|
x
|
x
|
x
|
|
10.0/75-15,3
|
9.00x15.3"
|
mm
|
x
|
x
|
934
|
1010
|
x
|
x
|
x
|
x
|
|
in.
|
x
|
x
|
37
|
40
|
x
|
x
|
x
|
x
|
|
280/70 R16
|
W8x16"
|
mm
|
x
|
x
|
970
|
1046
|
x
|
x
|
x
|
x
|
|
in.
|
x
|
x
|
38
|
41
|
x
|
x
|
x
|
x
|
|
7.50-16
|
5.50Fx16"
|
mm
|
x
|
940
|
888
|
964
|
x
|
x
|
x
|
x
|
|
in.
|
x
|
37
|
35
|
38
|
x
|
x
|
x
|
x
|
|
260/70 R16
|
W8x16"
|
mm
|
x
|
x
|
971
|
1047
|
x
|
x
|
x
|
x
|
|
in.
|
x
|
x
|
38
|
41
|
x
|
x
|
x
|
x
|
|
8.25-16
|
5.50Fx16"
|
mm
|
x
|
939
|
887
|
963
|
x
|
x
|
x
|
x
|
|
in.
|
x
|
37
|
35
|
38
|
x
|
x
|
x
|
x
|
|
260/70 R16
|
W8x16"
|
mm
|
x
|
x
|
971
|
1047
|
x
|
x
|
x
|
x
|
|
in.
|
x
|
x
|
38
|
41
|
x
|
x
|
x
|
x
|
|
6.00-16
|
4.50Ex16"
|
mm
|
839
|
955
|
879
|
995
|
877
|
917
|
917
|
957
|
|
in.
|
33
|
38
|
35
|
39
|
35
|
36
|
36
|
38
|

LX211142-UN-26SEP14
|
5GV Front-Wheel Tread Settings (with Front-Wheel Drive)
|
|
Front-Tires
|
2 Pos. Rim
|
Unit
|
Position of Rim and Wheel Disks
|
|
A
|
B
|
|
10.0/75-15,3
|
9.00x15.3"
|
mm
|
x
|
1012
|
|
in.
|
x
|
40
|
|
260/70 R16
|
W8x16"
|
mm
|
x
|
1023
|
|
in.
|
x
|
40
|
|
280/70 R18
|
W9x18"
|
mm
|
x
|
995
|
|
in.
|
x
|
39
|
|
6.00-16
|
4.50Ex16"
|
mm
|
819
|
1007
|
|
in.
|
32
|
40
|
|
6.50-16
|
4.50Ex16"
|
mm
|
x
|
1006
|
|
in.
|
x
|
40
|
|
7.50 R16
|
5.50Fx16"
|
mm
|
x
|
982
|
|
in.
|
x
|
39
|
|
240/70 R16
|
W8x16"
|
mm
|
x
|
1024
|
|
in.
|
x
|
40
|

LX203966-UN-26AUG13
|
5GV Front-Wheel Tread Settings (without Front-Wheel Drive)
|
|
Front-Tires
|
Rim
|
Unit
|
Position of Rim and Wheel Disks 2WD
|
|
A
|
B
|
C
|
D
|
|
6.00-16
|
4.00Ex16"
|
mm
|
776
|
x
|
974
|
x
|
|
in.
|
31
|
x
|
38
|
x
|
|
6.50-16
|
5.50Fx16"
|
mm
|
809
|
885
|
869
|
945
|
|
in.
|
32
|
35
|
34
|
37
|
5GV Rear-Wheel Tread Adjustment

LX203964-UN-26AUG13
8 Pos. Adjustable Rim
|
5GV Rear-Wheel Tread Settings
|
|
Rear-Tires
|
8 Pos. Adjustable Rim
|
Unit
|
Position of Rim and Wheel Disks
|
|
A
|
B
|
C
|
D
|
E
|
F
|
G
|
H
|
|
280/85 R28
|
W10x28"
|
mm
|
x
|
x
|
x
|
879
|
923
|
1034
|
1168
|
1279
|
|
in.
|
x
|
x
|
x
|
35
|
36
|
41
|
46
|
50
|
|
320/85 R28
|
W10x28"
|
mm
|
x
|
x
|
x
|
879
|
923
|
1034
|
1168
|
1279
|
|
in.
|
x
|
x
|
x
|
35
|
36
|
41
|
46
|
50
|
|
250/85 R28
|
W8x28"
|
mm
|
x
|
783
|
x
|
826
|
974
|
1083
|
1017
|
1126
|
|
in.
|
x
|
31
|
x
|
33
|
38
|
43
|
40
|
44
|
|
360/70 R24
|
W10x24"
|
mm
|
x
|
x
|
x
|
961
|
x
|
956
|
1016
|
1129
|
|
in.
|
x
|
x
|
x
|
38
|
x
|
38
|
40
|
44
|
|
340/85 R28
|
W12x28"
|
mm
|
x
|
x
|
x
|
x
|
927
|
1038
|
1164
|
1275
|
|
in.
|
x
|
x
|
x
|
x
|
36
|
41
|
46
|
50
|
|
340/85 R24
|
W12x24"
|
mm
|
x
|
x
|
x
|
959
|
x
|
958
|
1014
|
1127
|
|
in.
|
x
|
x
|
x
|
38
|
x
|
38
|
40
|
44
|
|
320/85 R24
|
W10x24"
|
mm
|
x
|
x
|
848
|
961
|
x
|
956
|
1016
|
1129
|
|
in.
|
x
|
x
|
33
|
38
|
x
|
38
|
40
|
44
|
|
360/70 R28
|
W12x28"
|
mm
|
x
|
x
|
x
|
875
|
927
|
1038
|
1164
|
1275
|
|
in.
|
x
|
x
|
x
|
34
|
36
|
41
|
46
|
50
|
|
9.5 R28
|
W8x28"
|
mm
|
x
|
756
|
x
|
853
|
947
|
1056
|
1044
|
1153
|
|
in.
|
x
|
30
|
x
|
34
|
37
|
42
|
41
|
45
|
Rear wheel tread can be adjusted by re-positioning or reversing
the rims or by reversing the wheel disks. In addition, the complete
wheel can be installed on the other side of the tractor. The arrow
on side wall of tire must point in the direction of forward travel.
IMPORTANT: Always mount nuts on rim side. The distance
between the side wall of the tire and the fender must not be less
than 15 mm (0.6 in.). Distance between edge of tire and fender must
not be less than 30 mm (1.18 in.).
NOTE: The illustration shows the right-hand rear wheel. Tread
widths are measured at the lowest point of the tires.
After adjustment has been completed tighten wheel retaining
bolts to specified torque. See Section 30, Break-In Period. If wheels
are removed to adjust tread, tighten wheel retaining bolts or nuts
to specified torque. See Tighten Wheel Bolts in this Section.
|
|
OULXBER,00027D6-19-20151005
|
|