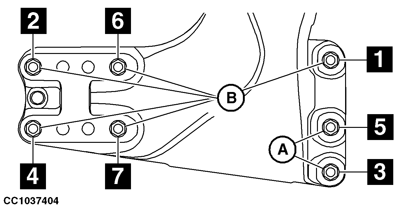
Frontladerkonsole - Schrauben anziehen bei Lader H360 und H380

CC1037404-UN-20FEB12
Die Schrauben (A) mit 620 N.m (457 lb.-ft.) und Schrauben (B)
mit 580 N.m (428 lb.-ft.) anziehen. Dabei die vorgegebene Reihenfolge
beachten.
|
|
OULXA64,0002D68-29-20121217
|
|