Vormontage des Pickup-Gewichtes
ACHTUNG: Bei den nachfolgend beschriebenen Arbeiten sind die
Sicherheitsmaßnahmen zu beachten.
ACHTUNG: Hebe- und Förderzeuge entsprechend dem Gewicht
von 900 kg (1985 lb) bzw. 1150 kg (2535 lb) auswählen.
ACHTUNG: Nur geprüfte Hebezeuge verwenden.
ACHTUNG: Arbeitssicherheit beachten. Kein Aufenthalt unter schwebenden
Lasten.
HINWEIS: Um das Gewicht nach vollendeter Vormontage rangieren zu
können, ist es von Vorteil, wenn der Zusammenbau auf einer Palette
stattfindet. (Tragkraft beachten)

LX013997-UN-02APR96
Mittleres Gewicht (A) mittels Hebezeug auf ebenem Untergrund
abstellen.
Die seitlichen Gewichte (B) am mittleren Gewicht anordnen und
Aufnahmewelle (C) montieren.
Muttern (D) mit 300 N˙m (220 lb-ft) anziehen.
Bei Anbau in Dreipunktaufhängungen die Bolzen (E) auf maximale
Länge einstellen.

LX013999-UN-02APR96
Wenn nur das mittlere Gewicht angebaut wird, so muß
auf der Aufnahmewelle beidseitig eine Distanzbüchse (A) montiert
werden.
Muttern mit 300 N˙m (220 lb-ft) anziehen.

LX012554-UN-27JUN96
Bei Anbau an ein 60 kg (130 lb) Grundgewicht einen Distanzhalter
(A) an beiden Innenseiten anordnen.
Bei Anbau an ein 110 kg (240 lb) Grundgewicht entfallen die
Distanzhalter.
Innensechskantschrauben (C) von innen nach außen einsetzen
und mit den Muttern (B) verschrauben.

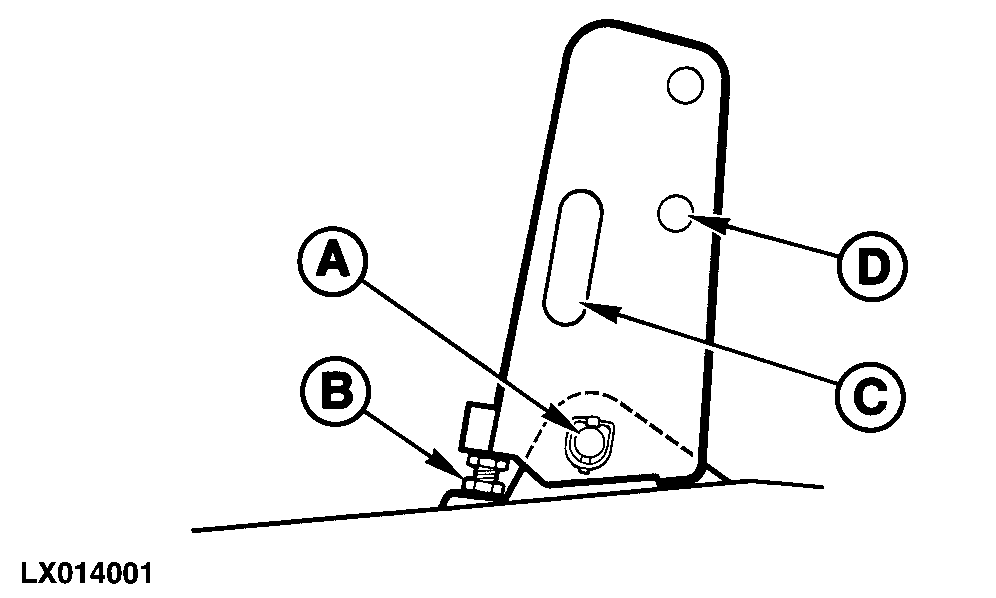
LX014001-UN-02APR96
Bei Anbau in der Dreipunktaufhängung den Oberlenkerhalter
anordnen. Bolzen (A) einbauen und sichern. Schraube (B) am Pickup-Gewicht
anlegen und kontern.
Der Oberlenkerhalter bietet eine Vorrichtung (C) zur Aufbewahrung
von Distanzstücken bei Nichtgebrauch.
Bei Nichtgebrauch des Oberlenkerhalters wird dieser gekippt
und über die Bohrung (D) am Gewicht befestigt.
|
|
OULXE59,0010880-29-20131216
|
|