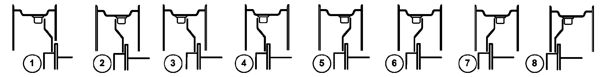
Front Wheel Tread Adjustment with Rims for 8 Positions - 6150R

LX1056921-UN-21AUG13
| |
Tread width setting on delivery
|
Tread width setting (front wheels)
Arrangement of rim and wheel disk
|
|
Tires:
|
1
|
2
|
3
|
4
|
5
|
6
|
7
|
8
|
|
|
540/75R28
|
1880 mm
|
2156 mm**
|
2052 mm**
|
1880 mm
|
1776 mm
|
1756 mm
|
1652 mm*
|
1480 mm*
|
1376 mm*
|
|
(74.02 in.)
|
(84.88 in.)**
|
(80.79 in.)**
|
(74.02 in.)
|
(69.92 in.)
|
(69.13 in.)
|
(65.04 in.)*
|
(58.27 in.)*
|
(54.17 in.)*
|
|
|
600/65R28
|
1880 mm
|
2156 mm**
|
2052 mm**
|
1880 mm
|
1776 mm
|
1756 mm
|
1652 mm*
|
1480 mm*
|
1376 mm*
|
|
(74.02 in.)
|
(84.88 in.)**
|
(80.79 in.)**
|
(74.02 in.)
|
(69.92 in.)
|
(69.13 in.)
|
(65.04 in.)*
|
(58.27 in.)*
|
(54.17 in.)*
|
|
|
* With AL180127 steering stop only
** Total vehicle width larger than 2.55 m; the regional road
traffic licensing regulations have to be observed.
|

LX1056914-UN-27JUN13
* With AL180127 steering stop only
IMPORTANT: Comply with instructions on front-wheel tread adjustment
with rims for 8 positions.
NOTE: In certain countries, overall vehicle width for driving
on public roads must not exceed 2.55 m (100 in.).
|
|
OULXA64,000333E-19-20140527
|
|