Préassemblage de la masse de lestage à fixation
rapide
ATTENTION: Pour toutes les opérations décrites ci-après,
respecter les consignes de sécurité.
ATTENTION: Choisir un dispositif de levage supportant une masse
de 900 kg (1985 lb) ou 1150 kg (2535 lb).
ATTENTION: N'utiliser que des dispositifs de levage homologués.
ATTENTION: Observer les règles de prévention des
accidents. Ne pas se tenir sous des charges suspendues.
NOTE: Pour faciliter le transport de la masse de lestage, il
est conseillé de la préassembler sur une palette. S'assurer
que la capacité de charge de la palette est suffisante.

LX013997-UN-02APR96
À l'aide du dispositif de levage, abaisser la masse centrale
(A) sur une surface horizontale.
Placer les éléments latéraux (B) de chaque
côté de l'élément central et mettre en
place l'arbre de montage (C).
Serrer les écrous (D) à 300 Nm (220 lb-ft).
Lors du montage sur un attelage trois points, régler
les axes (E) à la longueur maximum.

LX013999-UN-02APR96
Si seul l'élément central est installé,
il faut monter une entretoise (A) de chaque côté de l'arbre.
Serrer les écrous à 300 Nm (220 lb-ft).

LX012554-UN-27JUN96
Si la masse est montée sur un support de 60 kg (130
lb), monter une entretoise (A) sur les deux côtés intérieurs.
Si la masse est montée sur un support de 110 kg (240 lb),
les entretoises ne sont pas nécessaires.
Insérer les vis Allen (C) de l'intérieur et installer
les écrous (B).

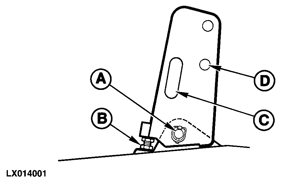
LX014001-UN-02APR96
Si la masse est montée sur l'attelage trois points,
installer le support de la barre de poussée. Monter l'axe (A)
et le goupiller. Régler la profondeur à laquelle la
vis (B) est vissée dans le support de barre de poussée
jusqu'à ce que la vis soit en contact avec la masse de lestage
à fixation rapide et la bloquer avec un contre-écrou.
Le support de la barre de poussée présente un
évidement (C) permettant le rangement des entretoises non utilisées.
Quand la barre de poussée n'est pas utilisée,
l'incliner et la fixer au-dessus du trou (D) au niveau de la masse.
|
|
OULXE59,0010880-28-20131216
|
|