Regolazione dei parafanghi fissi

LX1033634-UN-08AUG06
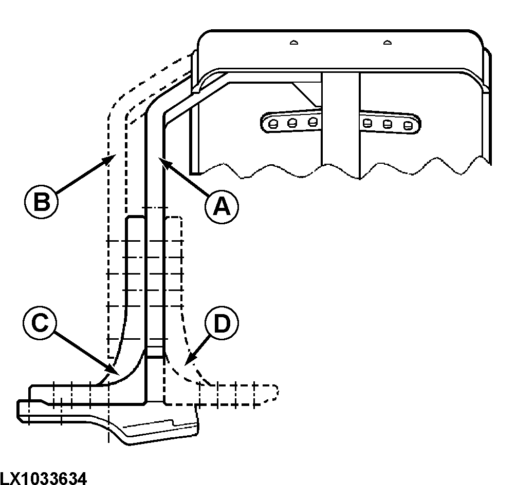
A - Da supporto a piastra di base (lato ruota)
B - Da supporto a piastra di base (lato trattore)
C - Piastra di base (lato trattore)
D - Piastra di base (lato ruota)
I parafanghi devono essere regolati singolarmente. Sono possibili
diverse posizioni di regolazione. L'inclinazione, la larghezza e l'altezza
dei parafanghi possono essere regolate in funzione della dimensione
degli pneumatici. Per farlo, procedere nel modo seguente:
-

LX1031619-UN-31MAY06

LX1033894-UN-11MAR04
Sollevare la parte anteriore del trattore in modo che l'assale
per la trazione anteriore possa ruotare completamente e liberamente.
-
Ruotare il volante in entrambi i sensi e fare girare l'assale
in modo da determinare la migliore posizione di montaggio del parafango.
-
Regolare la posizione del parafango in modo tale che vi sia
un gioco minimo (vedere l'illustrazione). Evitare qualsiasi contatto
con il telaio del trattore.
A = 40 mm (1.57 in.)1, B = 60 mm (2.36 in.)1
IMPORTANTE: Se sugli pneumatici sono installate catene da neve,
la distanza minima tra pneumatici e parafanghi (fianco - parafango
e battistrada - parafango) deve essere di 100 mm (3.94 in.).
-

LX1031620-UN-24APR06
Regolare anche i fermi dello sterzo per assicurarsi che né
la ruota né il parafango entrino in contatto con i componenti
del trattore (ad es. il serbatoio).
Serrare le viti alle coppie specificate:

LX1033635-UN-10MAY04
A - Viti, supporto - piastra base
B - Viti fissaggio piastra di base - base
C - Viti a esagono interno base - fusello
|
Viti (A)..............
|
140 N m (105 lb-ft)
|
|
Viti (B)..............
|
140 N m (105 lb-ft)
|
|
Viti (C)..............
|
190 N m (140 lb-ft)
|
|
1 Solo per
l'Europa. Per i Paesi non europei è consigliato un gioco minimo
di 25 mm (1.0 in.).
|
OU12401,0001B7F-39-20140217
|
|