Regolazione dei parafanghi pivotanti

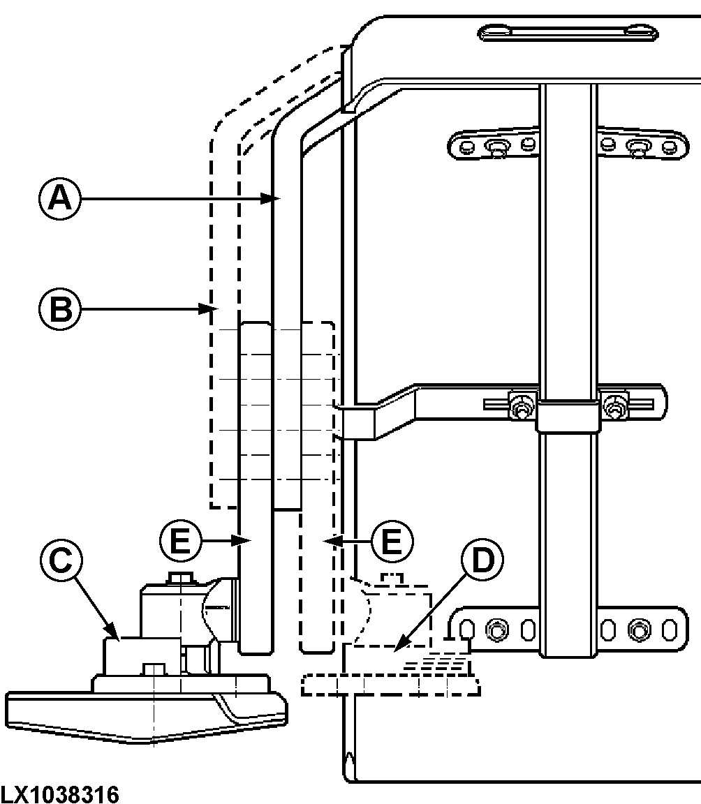
LX1038316-UN-08AUG06
A - Supporto per braccio regolabile (lato ruota)
B - Supporto per braccio regolabile (lato trattore)
C - Piastra pivotante (lato trattore)
D - Piastra pivotante (lato ruota)
E - Braccio regolabile
I parafanghi devono essere regolati singolarmente. Sono possibili
diverse posizioni di regolazione. L'inclinazione, la larghezza e l'altezza
dei parafanghi possono essere regolate in funzione della dimensione
degli pneumatici. Se si intende modificare la posizione del parafango
dalla C alla D, far ruotare il componente (NON installarlo sull'altro
lato del trattore). Quindi regolare l'angolazione del braccio regolabile
(E) in senso longitudinale. Per eseguire la regolazione, procedere
come descritto di seguito:
-

LX1031619-UN-31MAY06

LX1033894-UN-11MAR04
Sollevare la parte anteriore del trattore in modo che l'assale
per la trazione anteriore possa ruotare completamente e liberamente.
-
Ruotare il volante in entrambi i sensi e fare girare l'assale
in modo da determinare la migliore posizione di montaggio del parafango.
-
Regolare la posizione del parafango in modo tale che vi sia
un gioco minimo (vedere l'illustrazione). Evitare qualsiasi contatto
con il telaio del trattore.
A = 40 mm (1.57 in.)1, B = 60 mm (2.36 in.)1
IMPORTANTE: Se sugli pneumatici sono installate catene da neve,
la distanza minima tra pneumatici e parafanghi (fianco - parafango
e battistrada - parafango) deve essere di 100 mm (3.94 in.).
-
Regolare l'arresto del parafango per evitare che i suoi bordi
sfreghino quando il volante è completamente girato e l'assale
ruota. Accertarsi che il fermo entri in contatto il telaio del trattore
prima che questo venga urtato dal parafango.
-

LX1031620-UN-24APR06
Regolare anche i fermi dello sterzo per assicurarsi che né
la ruota né il parafango entrino in contatto con i componenti
del trattore (ad es. il serbatoio).
Serrare le viti alle coppie specificate:

LX1033893-UN-11MAR04
A - Viti fissaggio supporto - braccio regolabile
B - Vite di fissaggio braccio regolabile - giunto
C - Viti di fissaggio piastra pivotante - base
D - Viti a esagono interno base - fusello
|
Viti (A)..............
|
140 N m (105 lb-ft)
|
|
Vite (B)..............
|
300 N m (220 lb-ft)
|
|
Viti (C)..............
|
140 N m (105 lb-ft)
|
|
Viti (D)..............
|
190 N m (140 lb-ft)
|
|
1 Solo per
l'Europa. Per i Paesi non europei è consigliato un gioco minimo
di 25 mm (1.0 in.).
|
OU12401,0001B80-39-20140217
|
|