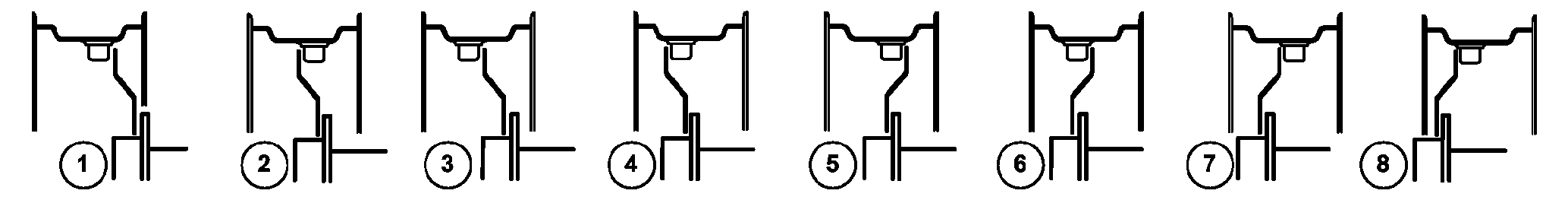
Front-Wheel Tread Adjustment with Rims for 8 Positions - 6170R
to 6210R

LX1056921-UN-21AUG13
| |
Tread width setting on delivery
|
Tread width setting (front wheels)
Arrangement of rim and wheel disk
|
|
Tires:
|
1
|
2
|
3
|
4
|
5
|
6
|
7
|
8
|
|
|
16.9R30
|
1916 mm
|
2120 mm**
|
2016 mm
|
1916 mm
|
1812 mm
|
1720 mm
|
1616 mm
|
1516 mm*
|
1412 mm*
|
|
(75.43 in.)
|
(83.46 in.)**
|
(79.37 in.)
|
(75.43 in.)
|
(71.34 in.)
|
(67.72 in.)
|
(63.62 in.)
|
(59.68 in.)*
|
(55.59 in.)*
|
|
|
18.4R30
|
1914 mm
|
2118 mm**
|
2014 mm
|
1914 mm
|
1810 mm
|
1718 mm
|
1614 mm*
|
1514 mm*
|
1410 mm*
|
|
(75.35 in.)
|
(83.39 in.)**
|
(79.29 in.)**
|
(75.35 in.)
|
(71.26 in.)
|
(67.64 in.)
|
(63.54 in.)*
|
(59.61 in.)*
|
(55.51 in.)*
|
|
|
420/85R30
|
1916 mm
|
2120 mm**
|
2016 mm
|
1916 mm
|
1812 mm
|
1720 mm
|
1616 mm
|
1516 mm*
|
1412 mm*
|
|
(75.43 in.)
|
(83.46 in.)**
|
(79.37 in.)
|
(75.43 in.)
|
(71.34 in.)
|
(67.72 in.)
|
(63.62 in.)
|
(59.68 in.)*
|
(55.59 in.)*
|
|
|
460/85R30
|
1914 mm
|
2118 mm**
|
2014 mm
|
1914 mm
|
1810 mm
|
1718 mm
|
1614 mm*
|
1514 mm*
|
1410 mm*
|
|
(75.35 in.)
|
(83.39 in.)**
|
(79.29 in.)
|
(75.35 in.)
|
(71.26 in.)
|
(67.64 in.)
|
(63.54 in.)*
|
(59.61 in.)*
|
(55.51 in.)*
|
|
|
480/70R30
|
1916 mm
|
2120 mm**
|
2016 mm**
|
1916 mm
|
1812 mm
|
1720 mm
|
1616 mm
|
1516 mm*
|
1412 mm*
|
|
(75.43 in.)
|
(83.46 in.)**
|
(79.37 in.)**
|
(75.43 in.)
|
(71.34 in.)
|
(67.72 in.)
|
(63.62 in.)
|
(59.68 in.)*
|
(55.59 in.)*
|
|
|
540/65R30
|
1916 mm
|
2120 mm**
|
2016 mm**
|
1916 mm
|
1812 mm
|
1720 mm
|
1616 mm*
|
1516 mm*
|
1412 mm*
|
|
(75.43 in.)
|
(83.46 in.)**
|
(79.37 in.)**
|
(75.43 in.)
|
(71.34 in.)
|
(67.72 in.)
|
(63.62 in.)*
|
(59.68 in.)*
|
(55.59 in.)*
|
|
|
600/65R28
|
1880 mm
|
2156 mm**
|
2052 mm**
|
1880 mm
|
1776 mm
|
1756 mm
|
1652 mm*
|
1480 mm*
|
1376 mm*
|
|
(74.02 in.)
|
(84.88 in.)**
|
(80.79 in.)**
|
(74.02 in.)
|
(69.92 in.)
|
(69.13 in.)
|
(65.04 in.)*
|
(58.27 in.)*
|
(54.17 in.)*
|
|
|
600/65R30
|
1878 mm
|
2154 mm**
|
2050 mm**
|
1878 mm
|
1774 mm
|
1754 mm
|
1650 mm*
|
1478 mm*
|
1374 mm*
|
|
(73.94 in.)
|
(84.80 in.)**
|
(80.71 in.)**
|
(73.94 in.)
|
(69.84 in.)
|
(69.05 in.)
|
(64.96 in.)*
|
(58.19 in.)*
|
(54.09 in.)*
|
|
|
600/70R28
|
1878 mm
|
2154 mm**
|
2050 mm**
|
1878 mm
|
1774 mm
|
1754 mm*
|
1650 mm*
|
1478 mm*
|
— ***
|
|
(73.94 in.)
|
(84.80 in.)**
|
(80.71 in.)**
|
(73.94 in.)
|
(69.84 in.)
|
(69.05 in.)*
|
(64.96 in.)*
|
(58.19 in.)*
|
|
|
* With AL180127 steering stop only
** Total vehicle width larger than 2.55 m; the regional road
traffic licensing regulations have to be observed.
*** Installation in this position is not allowed
|

LX1056914-UN-27JUN13
* With AL180127 steering stop only
IMPORTANT: Comply with instructions on front-wheel tread adjustment
with rims for 8 positions.
NOTE: In certain countries, overall vehicle width for driving
on public roads must not exceed 2.55 m (100 in.).
|
|
OULXA64,0002948-19-20140527
|
|