Rear Wheel Tread Adjustment with Rims for 2 Positions - Rack-and-Pinion
Axle (6170R to 6210R Tractors)
IMPORTANT: Comply with tread adjustment instructions, and tighten
wheel bolts. See Tighten Rear Wheel Bolts (with
Rack-and-Pinion Axle).
IMPORTANT: After adjusting tread, check that the wheels can
turn freely. Do NOT let tires come into contact with
draft links or lift links. The gap between lift links and tires can
be increased by installing the lift links in the front holes of the
draft links.
When draft links are raised (even if no implement is attached),
the hydraulic or mechanical stabilizer bars must be locked.
If there is still contact with the draft links or lift links
despite all these measures, tread width must be increased.
NOTE: In certain countries, overall vehicle width for driving
on public roads must not exceed 2.55 m (100 in.).
NOTE: The tread widths shown here apply for the short rack-and-pinion
axle. For maximum tread width with medium-sized and short
rack-and-pinion axles, the following values must be subtracted:
• Medium-sized rack-and-pinion axles: 206 mm (8.11 in.)
• Short rack-and-pinion axles: 462 mm (18.19 in.)

LX1056800-UN-29OCT12
Rear Wheel Tread Adjustment with Rims for 2 Positions
- Rack-and-Pinion Axle
| |
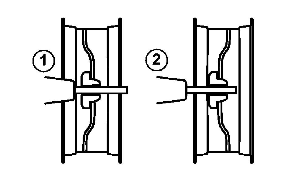
Tread width setting (rear wheels)
Arrangement of rim and wheel disk
|
|
|
Tread width setting (rear wheels)
Arrangement of rim and wheel disk
|
|
Tires:
|
Minimum (1)
|
Maximum (2)
|
|
Tires:
|
Minimum (1)
|
Maximum (2)
|
|
|
520/85R42
|
1866 mm
|
2913 mm*
|
|
650/75R38
|
1812 mm
|
2967 mm*
|
|
(73.46 in.)
|
(114.68 in.)*
|
|
(71.34 in.)
|
(116.81 in.)*
|
|
|
520/85R46
|
1870 mm
|
2909 mm*
|
|
650/75R42
|
1812 mm
|
2967 mm*
|
|
(73.62 in.)
|
(114.53 in.)*
|
|
(71.34 in.)
|
(116.81 in.)*
|
|
|
580/70R42
|
1866 mm
|
2913 mm*
|
|
650/85R38
|
1812 mm
|
2967 mm*
|
|
(73.46 in.)
|
(114.68 in.)*
|
|
(71.34 in.)
|
(116.81 in.)*
|
|
|
620/70R42
|
1812 mm
|
2967 mm*
|
|
710/70R38
|
1812 mm
|
2967 mm*
|
|
(71.34 in.)
|
(116.81 in.)*
|
|
(71.34 in.)
|
(116.81 in.)*
|
|
|
650/65R42
|
1812 mm
|
2967 mm*
|
|
710/70R42
|
1812 mm
|
2967 mm*
|
|
(71.34 in.)
|
(116.81 in.)*
|
|
(71.34 in.)
|
(116.81 in.)*
|
|
|
650/65R42 -R4
|
1812 mm
|
2967 mm*
|
|
VF 710/60R42
|
1812 mm
|
2967 mm*
|
|
(71.34 in.)
|
(116.81 in.)*
|
|
(71.34 in.)
|
(116.81 in.)*
|
* Total vehicle width larger than 2.55 m;
the regional road traffic licensing regulations have to be observed.
|
|
OULXA64,0002951-19-20140523
|
|