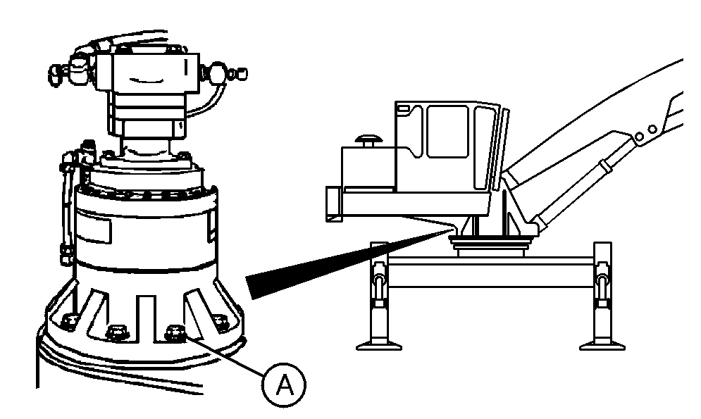
Check Swing Gearbox Mounting Cap Screws Torque

Check that the swing gearbox mounting cap screws are tightened to the specified torque.

Specification

Swing Gearbox Mounting Cap Screws -Torque 435 - 490 N·m (320-360 lb-ft)


A-Swing Gearbox Mounting Cap Screws

T150247

OUTJ003,0000BF5 -19-21JAN02-1/1