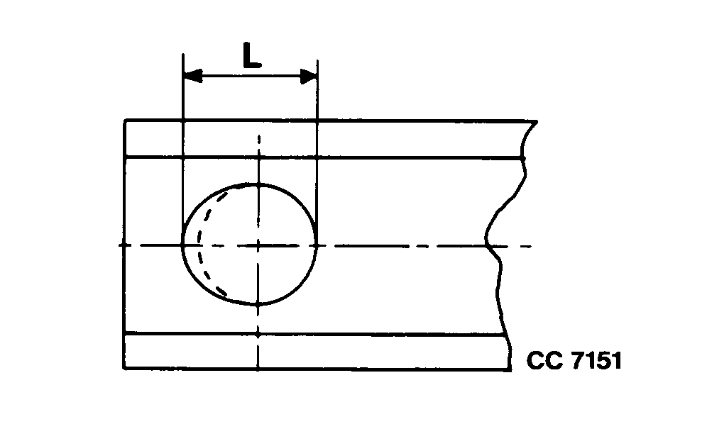
Checking Knife Fitting Hole

A knife must be replaced if its fitting hole becomes elongated by 2 mm (0.08 in.) or more as illustrated.


L-Initial diameter + 2 mm (0.08 in.); the knife must be replaced

CC7151

CC03745,0000368 -19-14MAR02-1/1