Replacing Left-Hand End Converging Disk Driver

1. Raise curtain to access disk drivers (see "Raising Curtains" in "Operating the Mower-Conditioner" section).

2. Remove shield (A).

3. Put a wood block between two disks.

4. Remove cap screws (C).

5. Remove driveline (E) and converging drum (B).

6. Remove disk (D).

CC1023872


A-Shield
B-Converging Drum
C-Cap Screw
D-Disk
E-Cutterbar Driveline

OUO6085,00001DC -19-30NOV04-1/6


7. Remove cap screw and special washer (A).

8. Remove disk driver (B).

9. If spline has been sheared, remove loose pieces of spline.


A-Cap Screw and Washer
B-Disk Driver

E44157

OUO6085,00001DC -19-30NOV04-2/6


IMPORTANT: It is critical that mating surfaces of the bearing, driver, yoke, and driver retainer washer be free of dirt and crop before installing special hardened cap screw. If these areas are not thoroughly cleaned, the special hardened cap screw can loosen and cause cutterbar failure.

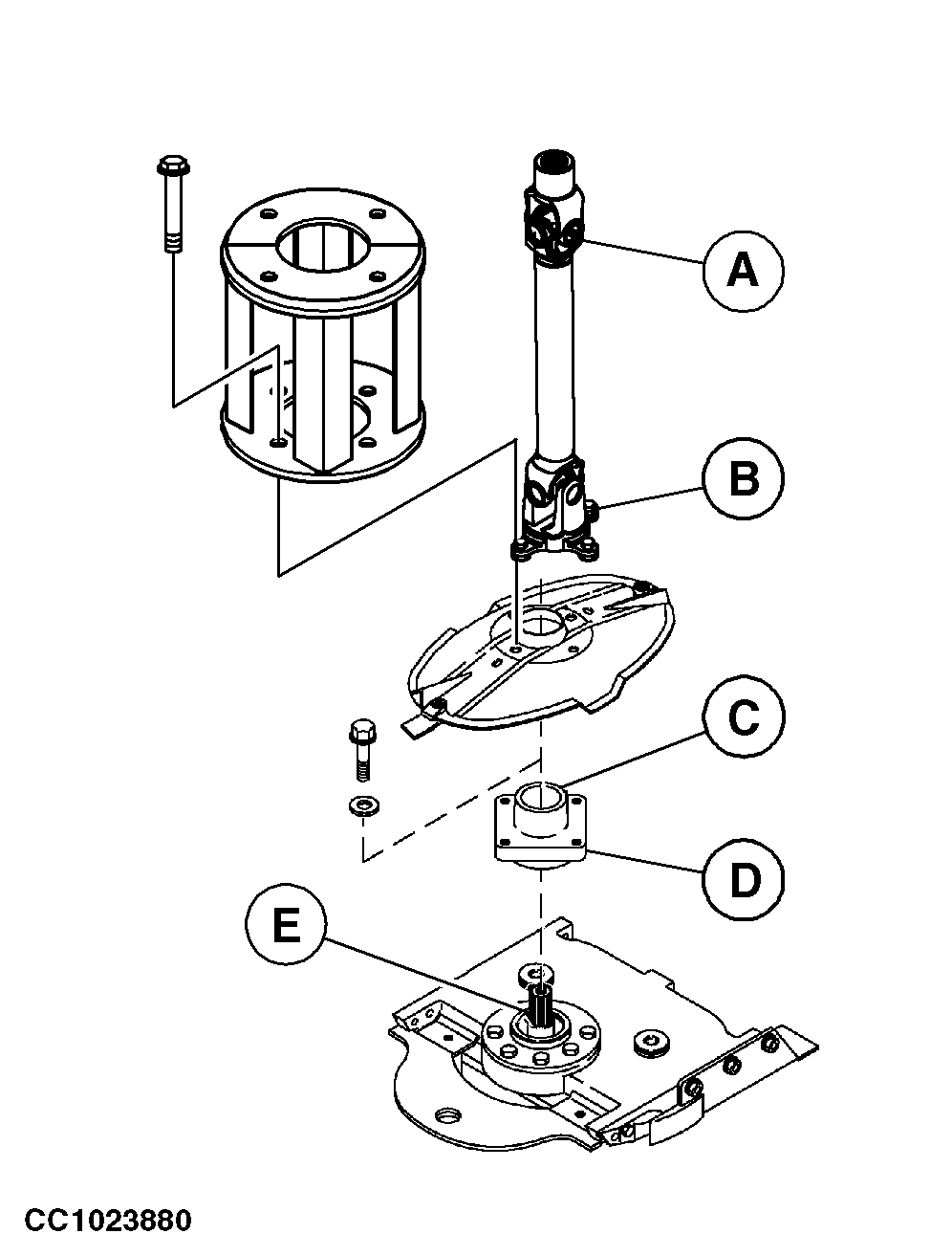
10. Clean the following areas before installing disk driver:

  • Inside yoke (A).
  • Bottom of yoke (B) which seats on disk.
  • Top of driver (C) where yoke and disk seat.
  • Bottom of driver (D).
  • Top of bearing (E).


A-Yoke, Inside
B-Yoke, Bottom
C-Driver, Top
D-Driver, Bottom
E-Bearing, Top

CC1023880

OUO6085,00001DC -19-30NOV04-3/6


11. Align timing marks (C) and install new driver (B) on pinion shaft.

12. Align timing mark on special washer (A) with mark on driver. Install washer.

IMPORTANT: To avoid machine damage, use new center cap screw treated with thread-locking compound.

Replace the special hardened cap screw with genuine John Deere part specified for this application.

Lubricate cap screw with light oil before installation. Failure to lubricate could allow cap screw to come loose and cause machine damage.

13. Lubricate special cap screw (A) with a light oil. Install and tighten to specifications.

Specification

Converging Disk Driver Cap Screws -Torque 340 N·m (250 lb-ft)

E44157
E44407


A-Cap Screw and Washer
B-Disk Driver
C-Timing Marks

OUO6085,00001DC -19-30NOV04-4/6


14. Place disk (D) on driver in original position (see "Installing and Synchronizing Disks" in this Section).

15. Lubricate gear case output shaft with multipurpose grease.

16. Insert cutterbar driveline through middle of converging drum (B). Slide splined yoke of driveline (A) onto splined shaft of gear case.

IMPORTANT: Disk-to-driver cap screws are treated with thread-locking compound and can be used up to five times. Replace with the John Deere cap screw specified for this application.

17. Fasten with four locking cap screws. Tighten cap screws to specifications.

Specification

Disk-to-Driver Cap Screws -Torque 150 N·m (110 lb-ft)
Replace locking cap screws after removing and installing five times.

CC1023872


A-Shield
B-Converging Drum
C-Cap Screw
D-Disk
E-Cutterbar Driveline

OUO6085,00001DC -19-30NOV04-5/6


18. Install upper shield (B). Make sure that the clearance (A) between shield and top of converging drum is within specification.

Specification

Shield-to-Converging Drum (A) -Clearance 5 mm (3/16 in.)

19. Remove wood block.

20. Rotate disks by hand until highest point is in line with stripper plate (E). Make sure that the clearance (D) and the clearance between crop accelerators and bottom of stripper (F) are within specification.

Specification

Stripper-to-Converging Drum (D) -Clearance 2-5 mm (0.079-0.197 in.)

Specification

Stripper-to-Accelerator (F) -Clearance 5-8 mm  (0.197-0.315 in.)

21. Rotate disks several times by hand to check synchronization. Make sure that there is no interference between knives.

22. Lower curtains.

E53700


A-Clearance
B-Upper Shield
C-Converging Drum
D-Clearance
E-Stripper Plate
F-Clearance

OUO6085,00001DC -19-30NOV04-6/6