Securing the Jackstand in Transport Position

When operating or transporting the mower-conditioner, always store jackstand in up position.

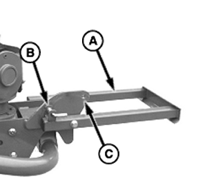
Jackstand on swivel hitch:

Secure jackstand (A) with latch (B).


A-Jackstand
B-Latch (Stowed Position)
C-Hole (Storage, Jackstand Down)

E53885

Jackstand On Swivel Hitch

OUO6085,00001FD -19-30NOV04-1/2


Jackstand on equal angle hitch:

Secure jackstand (A) with pin and quick-lock pin (B).


A-Jackstand
B-Pin and Quick-Lock Pin

E53640

Jackstand on Equal Angle Hitch

OUO6085,00001FD -19-30NOV04-2/2