Install Narrow Turn Limiters (If Required)

1. Adjust hitch. (See ADJUSTING EQUAL ANGLE HITCH in this section.)

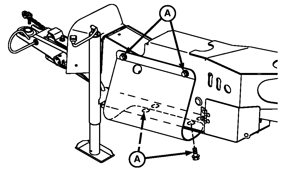
2. Install turn limiters. Fasten with four M16 x 40 cap screws and washers (A).

3. Repeat on opposite side.


A-M16 x 40 Cap Screws and Washers (8 used)

E53706

OUO6085,000026C -19-01DEC04-1/1