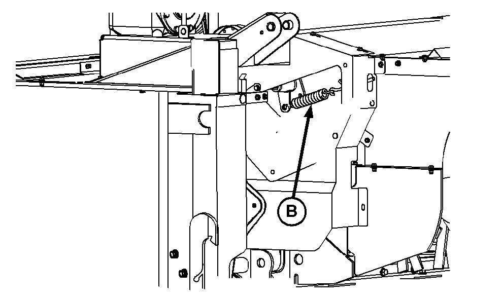
Every 50 Hours - Conditioner Belt Idler Tensioning Spring

On mower-conditioner equipped with impeller:

Check that length (C) of belt idler tensioning spring is 233 mm (9.2 in.) (inside of hook-to-inside of hook), adjust if required.

On mower-conditioner equipped with roll conditioner:

Check that length (C) of belt idler tensioning spring is 245 mm (9.65 in.) (inside of hook-to-inside of hook), adjust if required.


B-Impeller Belt Idler Tensioning Spring
C-Spring Length

E53880
CC1022282

OUO6085,0000280 -19-30NOV04-1/1